Содержание
1. Муфты, их классификация и особенности применения
1.2. Классификация и характеристики муфт
1.3. Изучение устройства конструктивных типов муфт, их исполнений и
особенностей применения
1.3.1.1.
Муфты нерасцепляемые жесткие
1.3.1.2.
Муфты нерасцепляемые жесткие компенсирующие
1.3.1.3. Муфты нерасцепляемые упругие
компенсирующие
1.3.1.3.1.
Муфты упругие компенсирующие с неметаллическими элементами
1.3.1.3.2.
Муфты упругие компенсирующие с металлическими элементами
1.3.2.
Муфты расцепляемые самодействующие.
2. Силовой и прочностной анализ муфт. Проверочные и проектные расчеты
элементов муфт
2.1.Общие положения силового анализа и
расчета муфт.
2.1.1. Силовой анализ и проверочные расчеты
полумуфт на примере муфты фланцевой
2.1.2. Силовой анализ и проверочные расчеты
соединительных элементов на примере муфт фланцевых
2.1.3. Проектные расчеты элементов муфт на
примере муфт фланцевых
2.1.4. Методы определения допустимого крутящего момента для
подбора серийных муфт
2.2. Силовой и прочностной анализ, расчет упругих
муфт
2.2.1. Пример анализа и расчета муфты
упругой втулочно-пальцевой
2.2.2. Силовой и прочностной анализ
оболочковых муфт на примере муфты с выпуклой оболочкой
2.3.Силовой и прочностной расчет
предохранительных муфт на примере муфты кулачковой
В технике муфты — это
соединительные устройства
для тех валов, концы которых подходят один к другому вплотную или же удалены на небольшое расстояние. Соединение валов муфтами обеспечивает
передачу вращающего момента
от одного вала к другому. Валы, как правило, расположены так, что геометрическая ось
одного вала составляет продолжение
геометрической оси другого вала. С помощью
муфт можно также передать вращение с валов на зубчатые колеса, шкивы, свободно
насаженные на эти валы.
Муфты не изменяют вращающего момента и направления
вращения. Некоторые типы муфт поглощают
вибрации и точки, предохраняют машину от аварий при перегрузках.
Муфты
в машиностроении предназначены:
- соединять соосные валы отдельных узлов и механизмов, а также разнообразные детали (зубчатые колеса, звёздочки, шкивы и т.п.) с валами с целью передачи между ними крутящего момента;
- компенсировать несоосность
соединяемых валов. Необходимость компенсирующих свойств муфт возникает в связи
с тем, что при соединении валов сборочных единиц изделий имеет место смещение
их осей вследствие неточности изготовления, монтажа, нагрузочных и тепловых
деформаций валов. Различают смещения осевые ∆l, радиальные
∆r, угловые ∆α (рис. 1.1). На практике в
большинстве случаев встречаются различные комбинации этих смещений. Несоосность осей валов усложняет монтаж муфт и условия их
работы. По этой причине смещения осей ограничивают.

Рис.1.1. Отклонения от соосности соединяемых валов: а – соосное расположение валов;
б, в, г, д
– оси валов имеют смещения (осевое – ∆l, радиальное – ∆r, угловое – ∆𝛂
и комбинированное)
- снижать ударные динамические нагрузки, интенсивность вибрации, устранять опасность резонансных явлений. Потребность в снижении динамических нагрузок, интенсивности колебательных процессов возникает в быстроходных элементах машин при эксплуатации в нестационарных (неустановившихся) режимах работы. Обязательным компонентом муфт, применяющихся в подобных ситуациях, является упругий элемент, который способен аккумулировать кинетическую энергию динамических процессов, преобразовывать её в потенциальную энергию деформации и тепловую энергию работ сил трения. Кроме того, подобные муфты могут изменять собственную частоту колебаний за счет изменения жесткости упругих элементов с изменением их деформации и предотвращают явление резонанса.
- предохранять элементы
машин от недопустимых кратковременных перегрузок в машинах ударного действия,
обладающих значительной инерционностью отдельных звеньев и ведущих обработку
сред неоднородной структуры, при эксплуатации в неустановившихся режимах
работы, в которых перегрузки могут в 2…3 и более раз превышать номинальные.
Такие кратковременные перегрузки вызывают статические (квазистатические)
разрушения элементов машин. Для исключения подобных перегрузок используют
специальные муфты, в которых при перегрузках происходит взаимное крутильное
угловое смещение ведущих и ведомых элементов с фрикционной, расцепляющейся
связью или разрушение специально предусмотренного легко заменяемого звена в
силовой цепи. Последний тип муфт целесообразно использовать лишь при
сравнительно редких значительных перегрузках.
- управлять работой машин. В некоторых
случаях управлять отдельными машинными
операциями рациональнее с помощью муфт. К примеру, в машинах, механизмах с частыми
пусками и остановками исполнительного (рабочего) органа возникает необходимость
кратковременного разобщения кинематической цепи, соединяющей работающий
двигатель с исполнительным органом. Иногда требуется передача крутящего момента
с двигателя на рабочий орган в одном направлении при равенстве угловых
скоростей ведущего и ведомого элементов и разобщение их, если скорость ведомого
превысит скорость ведущего (например, в велосипеде). В иных случаях требуется
соединение ведущего и ведомого элементов в случае достижения ведущим
определенной скорости. В описанных случаях управляющие функции рационально
выполнять не специальными устройствами, а совместить их с основной задачей
муфт.
- придать валам некоторой относительной подвижности во время работы (малые смещения и перекос геометрических осей валов);
-
автоматически соединять и разъединять валы в зависимости от пройденного пути,
направления передачи вращения, угловой скорости, т.е. выполнения функций
автоматического управления;
- обеспечивать плавный разгон машины и облегчать условия работы двигателя (муфты скольжения);
- осуществлять электрическую изоляцию валов, что важно с точки зрения безопасности для муфт электродвигателей (упруго-демпфирующие муфты с неметаллическими элементами).
Основными конструктивными элементами муфт являются ведущая 1, ведомая 2 полумуфты и соединительный элемент (силовая цепь) 3 для их соединения (рис. 1.1). Каждая полумуфта выполняет функции передачи крутящего момента между ними и валами. Полумуфты нередко практически одинаковы и могут быть взаимозаменяемыми. Различия между ними часто касаются лишь формы или размеров посадочных отверстий, а также исполнения соединения «вал – ступица». Современные стандарты на муфты обычно предусматривают возможность варьирования формы и диаметров отверстий ведущей и ведомой полумуфт в пределах набора значений, предусмотренных для каждого типоразмера, а также типов указанных соединений. В силу взаимозаменяемости полумуфт в подобных случаях их не разделяют. Однако для понимания принципа действия, силового анализа муфт и оформления конструкторских документов такое разделение является целесообразным.
Разнообразие прямых и дополнительных функций муфт, многообразие средств их реализации определили широкий набор конструкций обсуждаемого узла и развёрнутую их классификацию. В качестве первичного признака классификации муфт можно принять принцип передачи крутящего момента между ведущим и ведомым элементами. По этим признакам выделяют муфты механические, гидравлические, пневматические и электромагнитные. В муфтах механического принципа действия передача движения осуществляется посредством контакта твёрдых тел. Такие муфты наиболее просты по конструкции, надежны в работе, имеют минимальные потери энергии, универсальны по возможности реализации перечисленных функций и потому в современном машиностроении наиболее распространены. Муфты механического принципа действия и приняты в настоящем разделе объектом изучения.
Широко применяемые в машиностроении муфты стандартизированы. Простейшая муфта сделана из куска ниппельной трубочки и соединяет вал электромоторчика с крыльчаткой автомобильного омывателя стекла. Муфты турбокомпрессоров реактивных двигателей состоят из сотен деталей и являются сложнейшими саморегулирующимися системами.
Многообразие механических муфт и возможность сложного их комбинирования затрудняет строгую типизацию подобных устройств. Упрощенный вариант классификации показан на рис. 1.2. Отметим также, что приведенная классификация сокращена по сравнению с ГОСТ 50371-92.

Рис.1.2. Классификация муфт
Основные виды классификации муфт:
- по виду энергии, участвующей в передаче движения – механические, гидравлические, электромагнитные;
- по постоянству сцепления соединяемых валов – муфты постоянного соединения (неуправляемые), муфты сцепные, управляемые (соединение и разъединение валов по команде оператора), и автоматические (либо соединение, либо разъединение автоматическое по достижении управляющим параметром заданного значения);
- по способности демпфирования динамических нагрузок - жёсткие, не способные снижать динамические нагрузки и гасить крутильные колебания, и упругие, сглаживающие вибрации, толчки и удары благодаря наличию упругих элементов и элементов, поглощающих энергию колебаний;
- по степени связи валов - неподвижная (глухая), подвижная (компенсирующая), сцепная, свободного хода, предохранительная;
- по принципу действия - втулочная, продольно-разъёмная, поперечно-разъёмная, компенсирующая, шарнирная, упругая, фрикционная, кулачковая, зубчатая, с разрушаемым элементом (срезная), с зацеплением (кулачковые и шариковые);
- по конструктивным признакам - поперечно-компенсирующая, продольно-компенсирующая, универсально-компенсирующая, шарнирная, упругая (постоянной и переменной жёсткости), конусная, цилиндрическая, дисковая, фрикционная свободного хода, храповая свободного хода.
Рассматриваемые по первичному классификационному функциональному признаку муфты подразделяются по классам на нерасцепляемые, расцепляемые самодействующие (автоматические), расцепляемые управляемые (сцепные). Муфты первого класса не допускают разобщения валов без их разборки или демонтажа одного из соединяемых элементов. Расцепляемые муфты обеспечивают разобщение валов без остановки двигателя. При этом в расцепляемых муфтах самодействующих разобщение происходит автоматически при достижении установленного значения параметра (T, n и т.д.). В соответствии с перечисленными характерными свойствами каждого из указанных типов муфт можно определить и особенности применения каждого из них.
Нерасцепляемые муфты применяют в машинах и механизмах, в которых при их эксплуатации не требуется разобщение соединяемых элементов либо подобные разобщения производятся на остановленных технических объектах с целью проведения профилактических, ремонтных и других плановых работ и при аварийных ситуациях. В функциональном плане среди нерасцепляемых принято выделять группы муфт: жесткие неподвижные, жесткие компенсирующие и упругие компенсирующие в зависимости от типа связи соединяемых валов (рис. 1.2).
Жесткие
неподвижные муфты образуют жесткое соединение валов, к соосности
которых предъявляются повышенные требования. Допустимое радиальное смещение
осей валов не должно превышать (3…5) мкм. Отечественные серийные муфты данного
типа производятся для передачи крутящих моментов Т =(1,0…40000) Н∙м
при соединении валов диаметром от 6 до
Жесткие
компенсирующие муфты также осуществляют жесткое соединение валов, но при
этом обеспечивают возможность их сопряжениия при
определенном уровне осевых, радиальных, угловых и комбинированных смещений осей
валов. Жесткие компенсирующие муфты отечественными стандартами регламентируются
в диапазоне диаметров соединяемых валов от 8 до
Муфты упругие компенсирующие
наряду с непосредственным соединением валов выполняют функции снижения
динамических нагрузок, устранения опасности резонанса крутильных колебаний и
компенсации несоосности валов. Компенсирующие
возможности упругих муфт, также как и чисто компенсирующих, характеризуются
комплексом смещений соединяемых валов (осевого, радиального и углового).
Отечественные серийные муфты данного типа регламентируются для передачи
крутящих моментов Т = (2,5 …40000) Н∙м при соединении
валов диаметром от 6 до
Расцепляемые
самодействующие муфты
применяются в машинах и механизмах, требующих разобщения мотора и
исполнительного устройства при параметрах работы, которые не отвечают
установленным границам. Примером целесообразности применения расцепляемых
самоуправляемых муфт могут служить разнообразные рассматриваемые устройства,
которые автоматически разобщают силовую цепь машины при повышении нагрузки в
ней в связи с непредусмотренным увеличением сопротивления на рабочем органе,
аварийным заклиниванием элементов машин, механизмов и т.п. Отечественные
серийные муфты данного типа регламентируются для передачи крутящих моментов Т = (4,0 …400) Н∙м при диаметрах
отверстий от 8 до
Расцепляемые самодействующие муфты в функциональном плане дополнительно классифицируют по типу связи в зависимости от вида управляющего параметра для соединения ведущего и ведомого элементов на предохранительные, обгонные и центробежные. Муфты предохранительные жестко соединяют (или разобщают) валы при значении крутящего момента, не превышающем (или превышающем) установленной предельно допустимой нагрузки. В обгонных муфтах, или муфтах свободного хода, соединение валов происходит при передаче движения в одном направлении вращения ведомого вала с частотой, не превышающей частоты ведущего. Наконец центробежные муфты предназначены для соединения или разобщения валов при определённом уровне скорости ведущего звена.
Расцепляемые управляемые муфты применяются для соединения элементов машин и механизмов, в которых при их работе необходимы частые кратковременные разобщения энергоисточника и исполнительного органа без остановки двигателя на основе действий оператора или автоматического устройства, управляющих работой машины. К примеру, в случае необходимости останова сборочных конвейеров для проведения технологических операций сборки, при необходимости отключения отдельных исполнительных механизмов в случае привода от одного двигателя нескольких параллельно работающих устройств. Характерным примером расцепляемых управляемых муфт являются муфты сцепления в автомобилях. В качестве дополнительного функционального признака, классифицирующего тип связи и способ разобщения валов, в расцепляемых управляемых муфтах механического принципа действия принимают именно способы разобщения валов с применением механических, гидравлических и электромагнитных переключателей. В конструктивном плане рассматриваемые муфты устроены так же, как и расцепляемые самодействующие. При этом заметим, что в практике курсового проектирования по дисциплине «Детали машин и основы конструирования» подобные муфты используются сравнительно редко. В связи с указанными обстоятельствами и ограниченным объемом пособия отмеченные муфты в дальнейшем не рассматриваются.
Муфты по конструктивным признакам обычно разделяют на типы, подтипы и исполнения. При этом разделение на типы и подтипы связано с принципиальными особенностями конструкции муфт и их эксплуатационных характеристик. Разделение по исполнениям характеризует форму, длину посадочного отверстия и тип соединения «вал – ступица». В зависимости от формы выделяют полумуфты с цилиндрическими и коническими отверстиями. По длине ступиц полумуфты принято разделять на длинные и короткие, отвечающие стандартам цилиндрических и конических концевиков валов (ГОСТ 12080, ГОСТ 12081). Для соединения валов с полумуфтами наиболее часто используют штифтовые (ГОСТ 3129), шпоночные призматической (ГОСТ 10748, ГОСТ 23360) и сегментной (ГОСТ 24071) шпонками; шлицевые соединения прямобочными (ГОСТ 1139) и эвольвентными (ГОСТ 6033) шлицами. Более подробно фрагменты классификации, касающиеся разделения муфт по исполнениям, рассмотрены ниже непосредственно для каждой из рассматриваемых муфт.
Многие типовые муфты, как отмечалось выше, состоят из конструктивно одинаковых ведущей и ведомой полумуфт, которые могут отличаться исполнениями, то есть формой и размером посадочных отверстий и типом соединения «вал – ступица». Такие полумуфты в дальнейшем для краткости будем называть практически одинаковыми. При разработке конструкторской документации в подобных случаях составляют рабочие чертежи обеих полумуфт либо разрабатывают групповой чертеж.
Среди общих вопросов конструирования муфт выделим вопрос об осевой фиксации полумуфт. К типовым способам фиксации относят:
1. Упор полумуфт в бурт на концевом
участке вала, с одной стороны, и
фиксация торцевой шайбой и винтом, вворачиваемым в торец вала (рис. 1.3 а) – с другой. Винт в таких конструкциях
снабжается шайбой, которая исключает его самоотвинчивание.
Роль бурта может также выполнять распорная втулка, как это показано в нижней
части рисунка 1.3 а. Фиксация
торцовой шайбой особенно целесообразна при наличии осевых сил; в случае
конического посадочного отверстия вместо винта используют концевик
с резьбовым участком, на который наворачивается гайка.
2. Закрепление полумуфт с помощью штифтов, которые также служат для передачи крутящего момента (рис 1.3 б). В этом случае упрощается конструкция вала в связи с ненадобностью бурта.
3. Закрепление полумуфт с помощью фиксирующих винтов, вворачиваемых радиально в ступицы полумуфт (рис. 1.3 в). С целью исключения самоотворачивания винтов используют пружинные кольца, которые укладываются в специальные канавки полумуфт и шлиц винта.

Рис. 1.3. Способы осевой фиксации полумуфт:
а
– торцевой шайбой; б – штифтом; в – фиксирующим
винтом
Отмеченные способы осевой фиксации ведущей и ведомой полумуфт могут также применяться в комбинированном виде.
Основная
характеристика муфты – передаваемый
вращающий момент.
Существенные показатели – габариты, размеры посадочных мест, масса, момент инерции и др.
Подбор муфты ведут по таблицам соответствующего стандарта (ведомственной нормали): по условиям эксплуатации, по большему диаметру соединяемых валов, расчетному вращающему моменту и проверяется предельная скорость вращения.
Муфта, рассчитанная на передачу определённого вращающего момента, выполняется в нескольких модификациях для разных диаметров валов. Муфты – автономные узлы, поэтому они легко стандартизируются.
Муфты рассчитывают по их критериям работоспособности:
- прочности при циклических и ударных нагрузках,
- износостойкости,
- жёсткости,
-демпфирующей способности.
Для параметрической оценки возможности снижения динамических нагрузок и устранения опасности резонансных явлений вводят понятия жёсткость и демпфирующая способность.
Жесткостью называют способность технического объекта сопротивляться деформациям при нагружении, для количественной оценки которой используют зависимость между величиной нагрузки и деформацией. Применительно к муфтам, нагружаемым крутящим моментом Т, это зависимость угла относительного поворота полумуфт φ= f(T). Если на ободах ненагруженной муфты нанести совпадающие риски, то при её нагружении за счет деформаций риски полумуфт повернутся относительно друг друга на угол φ (рис. 1.4,а). Функцию φ=f(T) называют упругой характеристикой муфты, а параметр C𝜑=dT/d𝜑 крутильной жесткостью. Эта функция для муфт линейна при постоянной (C𝜑=T/𝜑) и нелинейна при переменной жесткости (рис. 1.4,б), муфты нелинейной жесткости могут иметь жесткую (нижняя кривая) или мягкую (верхняя кривая) характеристики.
В нелинейных муфтах с жесткой характеристикой жесткость растет с увеличением угла закручивания (сравните жёсткость в точках 1 и 2 – С𝜑1 и С𝜑2). Такое свойство выгодно использовать в машинах, у которых нагрузка растет пропорционально квадрату скорости. Постоянную жесткость имеют муфты с использованием в силовой цепи материалов с упругими характеристиками, соответствующими закону Гука (металлических деформируемых элементов, к примеру). Переменная жесткость характерна для муфт, использующих неметаллические упругие элементы, физико-механические свойства которых не регламентируется законом Гука. Переменная жесткость также может иметь место и в муфтах с металлическими упругими элементами при помощи специальных конструктивных приемов. Муфты постоянной жесткости лишь позволяют снизить уровень динамической нагрузки, в то время как при переменной жесткости появляется дополнительная возможность исключить явления резонанса и значительно снизить интенсивность колебательных процессов. Как известно, резонанс наступает при совпадении частот собственных колебаний системы fc и внешних возмущающих воздействий fвоз. В случае применения муфт переменной жесткости при приближении fc к границе резонанса наблюдается рост амплитуды колебаний, вызывающий изменения и собственной частоты. Например, для простейшей двухмассовой системы
![]()
Очевидно, что изменения С𝜑 и соответственно fc приводят к выводу упругой системы из обозначенной зоны. В этом выражении I1 и I2 – приведенные к ведущей и ведомой полумуфтам моменты инерции.

Рис. 1.4. К
характеристике жестких упругих муфт:
а –
угол относительного поворота полумуфт при нагружении;
б – упругие характеристики муфт постоянной и переменной жесткости
Демпфирующая способность характеризует величину кинетической энергии удара, необратимо поглощаемой муфтой за счет ее преобразования в потенциальную и тепловую энергию. Подобные преобразования связаны с деформированием упругого элемента и внешним и внутренним трением, сопровождающим этот процесс. Известно, что поглощаемая энергия пропорциональна площади петли гистерезиса, образующейся между ветвями упругой характеристики при нагружении и разгрузке деформируемого элемента, как это показано на рис. 1.4,б применительно к муфте постоянной жесткости (заштрихованная площадка). Для количественной оценки демпфирующих свойств упругих элементов используют коэффициент демпфирования
![]()
где Aгист – площадь петли гистерезиса; а AOAB – полная площадь под упругой характеристикой муфты при ее нагружении (площадь треугольника ОАВ).
На практике муфты подбираются из каталога по величине передаваемого вращающего момента Т = ТВалаK, где ТВала – номинальный момент, определённый расчётом динамики механизма (наибольший из длительно действующих), К – коэффициент режима работы.
Коэффициент k рассчитывают на основании данных о спектре нагружения с учетом влияния различных уровней нагрузки на прочность и износостойкость деталей муфты. При отсутствии таких данных пользуются приближенными рекомендациями, отражающими в известной степени опыт эксплуатации.
В приводах от электродвигателя принимают:
- при спокойной работе и небольших разгоняемых массах (приводы конвейеров, испытательных установок и др.) К = 1,15...1,4;
- при переменной нагрузке и средних разгоняемых массах (металлорежущие станки, поршневые компрессоры и др.) К= 1,5...2;
- при ударной нагрузке и больших разгоняемых массах (прокатные станы, молоты, шаровые мельницы, дробилки и др.) К= 2,5...3.
Диаметры посадочных отверстий муфты согласуют с диаметрами концов соединяемых валов, которые могут быть различными при одном и том же вращающем моменте вследствие применения разных материалов и различной нагруженности изгибающими моментами.
Основные типы муфт регламентированы стандартом для некоторого диапазона диаметров валов и рассчитаны на передачу определенного момента.
Наиболее слабые звенья выбранной муфты проверяют расчетом на прочность по расчетному моменту Тр.
Работа муфт сопровождается потерями. По опытным данным при расчетах КПД муфт обычно принимают η = 0,985...0,995.
Жесткие муфты образуют жесткое и неподвижное соединение валов. Они не компенсируют ошибок изготовления и сборки, требуют точной центровки валов.
Длинные валы по условиям изготовления, сборки и транспортировки иногда изготавливают составными. В этом случае валы, соединенные глухой муфтой, работают как одно целое, поэтому наряду с крутящим муфта может воспринимать изгибающий момент, поперечные и осевые нагрузки. В некоторых случаях глухие муфты применяют и для соединения строго соосных валов агрегатов.
Глухой называют такую муфту, которая обеспечивает при соединении валов полное совпадение их геометрических осей.
К муфтам жестким нерасцепляемым (глухим) относят втулочные, фланцевые (поперечно-разъемные) и продольно-свертные.
Втулочные муфты (рис.
1.5) относятся к наиболее простым по конструкции и изготовлению типам и представляет собой втулку, одетую на концы
соединяемых валов. Вращающий момент от ведущего вала к ведомому
передаётся втулкой через штифты, установленные в отверстия, просверленные
диаметрально сквозь втулку и концы валов, через шпонки, или через шлицы. Они
имеют минимальные значения габаритных размеров, массы и момента инерции, а
также минимальны по стоимости изготовления. К недостаткам
втулочных муфт следует отнести невозможность разобщения соединяемых валов без
демонтажа соединяемых узлов и низкую изгибную жесткость, необходимость при монтаже и демонтаже раздвигать концы
валов на полную длину муфты либо сдвигать втулку вдоль вала не менее чем на
половину ее длины; необходимость очень точного совмещения валов, так как эти
муфты не допускают радиального или углового смещения осей валов.
Целесообразно использовать в узлах с повышенными требованиями к
ограничению радиальных габаритов, массы, момента инерции и при возможности обеспечения незначительных смещений осей
валов в пределах допустимой соосности. Муфты данного
типа могут применяться при окружных скоростях на наружном диаметре до 70 м/с при частотах вращения
(84000…9550) об/мин в соответствии с диаметром валов от 10 до
Муфты второго типа имеют два исполнения: для концевиков длинных (первого исполнения) и коротких (второго исполнения) валов по ГОСТ 12080. Принцип работы муфты очевиден из рисунка. Передача движения осуществляется сопротивлением соединений «вал – ступица» деформациям сдвига и смятия, тело муфты при этом скручивается. Осевая фиксация тела муфты на валу в первом типе осуществляется непосредственно штифтом, а в остальных – с помощью радиального винта, который удерживается от самоотвинчивания пружинным кольцом для стопорения винтов, укладываемым в специальную канавку тела муфты (рис. 1.5 б, в, г).
Прочность муфты определяется прочностью соединения и прочностью самой втулки.
Материал
для изготовления втулки — сталь 45; для муфт больших размеров — чугун СЧ25.
Пример
обозначения муфты исполнения 1, при Тном = 200 Н∙м, d =
Муфта втулочная 1–200–36–У3 ГОСТ 24246-80.

Рис. 1.5. Конструкция муфты втулочной и ее
типы: а – тип 1 со штифтом по ГОСТ3129; б – тип 2 со шпоночным пазом
по ГОСТ 10748 или 23360 под призматическую шпонку;
в – тип 3 со шпоночным пазом по ГОСТ 24071 под сегментную
шпонку; г –
тип 4 со шлицевым посадочным отверстием по ГОСТ 1139
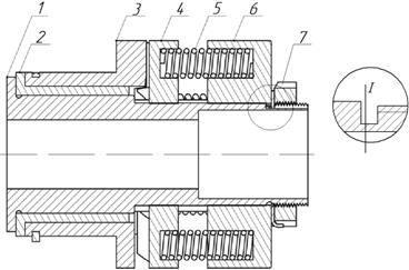
Фланцевые
муфты (поперечно-разъемные) (рис.
1.6) являются одними из наиболее распространенных жёстких нерасцепляемых
муфт. Они удобны в монтаже и обеспечивают жёсткие соединения валов.
Отечественные стандартные фланцевые муфты (ГОСТ 20761 – 96) состоят из
конструктивно одинаковых ведущей 1 и ведомой 2 полумуфт, фланцы которых
соединяются болтами 7 и 8 с соответствующими гайками 5 и шайбами 6. Крутящий момент с валов на полумуфты
передается с помощью призматических шпонок. Осевая фиксация полумуфт на валах в
стандарте не регламентирована. Вращающий момент передаётся за счёт сил трения
между фланцами, а когда болты вставлены без зазора, то также и болтами. Болты, поставленные без
зазора, могут обеспечивать центровку валов.
При постановке болтов с зазором центровка обеспечивается выступом, который
воспринимает также все поперечные нагрузки.
Центрирующий выступ усложняет монтаж и демонтаж соединения, так как при этом необходимо осевое смещение валов.
При установке болтов с зазором масса муфты намного больше, чем в варианте без зазоров, а несущая способность при одинаковых размерах в пять-шесть раз меньше. В случае установки всех болтов с зазором необходимо предусматривать центрирующие буртики, обеспечивающие соосность соединяемых валов. В тех случаях, когда муфта имеет общее ограждение, буртики не делают.
В рассматриваемой конструкции одна из полумуфт зафиксирована винтом 3 с пружинным кольцом 4 (рис.1.6). По форме концевиков валов, на которые насаживаются полумуфты, стандартом выделены исполнения муфт I и II соответственно с цилиндрическими отверстиями под длинные и короткие концевики валов. Серийные муфты выпускаются для валов диаметром (11…250) мм при номинальных крутящих моментах (16…40000) Н∙м с удельной массой (0,043…0,009) кг/Н∙м. Максимальная окружная скорость на наружном диаметре стальных полумуфт не должна превышать 70 м/с или частот вращения (17600…2680) об/мин. Основные параметры фланцевых серийных муфт приведены в таблице 1.1.
Таблица 1.1. Основные параметры отечественных серийных жестких неподвижных и жестких компенсирующих муфт
|
Конструктивный тип муфт |
Диапазоны |
Допустимые смещения осей валов |
Максимально допустимая частота вращения [n]**, мин-1 (с-1) |
||||
|
диаметров соединяемых валов d, мм |
номинальных крутящих моментов Tном, Н∙м |
удельной массы
|
осевые [l], мм |
Радиальные [∆r], мм |
Угловые [∆α], град |
||
|
Муфты нерасцепляемые
жесткие неподвижные |
|||||||
|
Втулочные (ГОСТ 24246-96) |
6…105 |
1,0…12500 |
0,01…0,001 |
±0,5 |
- |
- |
84000…9550 (1400…160) |
|
Фланцевые (ГОСТ 20761-96) |
11…250 |
16…40000 (8…20000)*** |
0,043…0,009 |
- |
- |
- |
16700…2680 (280…45) |
|
Продольно-свертные (ГОСТ 23106-78*) |
25…130 |
125…12500 |
0,019…0,005 |
- |
0,05 |
- |
250…100 (4,2…1,6) |
|
Муфты нерасцепляемые
жёсткие компенсирующие |
|||||||
|
Зубчатые (ГОСТ 5006-96) |
40…200 |
1000…63000 |
0,007…0,004 |
±1,0 |
1…3,5 |
30´…1° |
5400…1200 (90…20) |
|
Цепные (ГОСТ 20742-93) |
20…180 |
63…16000 |
0,035…0,012 |
- |
0,16…1,2 |
1º…2° |
1500…660 (25…11) |
|
Кулачково-дисковые (ГОСТ 20720-93) |
16…150 |
16…16000 |
0,09…0,012 |
- |
0,6…3,6 |
1° |
240…100 (4,2…1,6) |
|
Дисковые полужесткие (ГОСТ 26455-97) |
11…130 |
40…6300 |
0,011…0,008 |
0,5…2,5 |
- |
45´…1° |
12000…3700 (200…62) |
|
Шарнирные (ГОСТ 5147-97) |
8…42 |
11,2…1120 |
0,005…0,004 |
- |
- |
45° |
≥1000 (≥17) |
|
Примечания: 1. 2. [n]** – диапазон изменения максимально допустимой частоты вращения соответствует указанным границам варьирования Tном. 3. *** – значения номинального момента Tном указаны для группы с использованием чугунных полумуфт. |
|||||||

Рис. 1.6. Конструкция
муфты фланцевой: а, б – с
центрированием осей валов болтами, поставленными без зазора;
в – с центрированием пояском на одной из полумуфт (слева) и
центрированием полукольцами (справа)
Конструктивно предусматривают фланцевые муфты открытые и закрытые. В закрытых муфтах фланцы снабжаются ободами, закрывающими головки болтов и гайки, которые обеспечивают безопасную эксплуатацию без защитного кожуха. Соосность полумуфт достигается
а) центрирующими точно изготовленными винтами 8, устанавливаемыми без зазора в отверстия совместно обработанных полумуфт в отличие от болтов 7, которые поставлены с зазором (рис. 1.6 а, б). Подобное центрирование предусмотрено указанным стандартом;
б) центрированием с помощью цилиндрического пояска в
одной из полумуфт и выточкой на другой (рис. 1.6 в – слева);
в) центрированием полукольцами (рис. 1.6 в – справа). В отличие от варианта «б» при монтаже и демонтаже не требуется осевого смещения соединяемых валов, но точность центрирования осей валов при этом снижается.
Фланцевые муфты могут передавать значительные вращающие моменты; имеют широкое распространение в машиностроении. Употребляются для валов диаметром d < 350 мм. Достоинство этих муфт — простота конструкции и легкость монтажа; недостаток — необходимость точного совмещения валов и точного соблюдения перпендикулярности соприкасающихся торцовых поверхностей полумуфт к оси вала.
Материал
фланцевых полумуфт — сталь 40, 35Л, чугун СЧЗО (для муфт больших размеров).
Эти муфты называют иногда поперечно-свертными. Для лучшего центрования
фланцев на одной полумуфте делают круговой выступ, на другой — выточку того же
диаметра или предусматривают центрующее кольцо 3.
Расчет на прочность выполняют для шпоночных соединений и болтов (см. расчет призматических шпонок и расчет болтовых соединений нагруженных в плоскости стыка для болтов поставленных с зазором и без зазора).
При точном
изготовлении болтовых отверстий (например, из-под развёртки) применяют
призонные болты, поперечное сечение которых во время передачи вращающего
момента работает на срез. При отверстиях малой точности болты устанавливаются с
зазором, и в этом случае тело болтов работает на растяжение, а вращающий момент
передаётся за счёт сил трения между торцевыми поверхностями фланцев.
При установке во фланцевую муфту призонных болтов диаметр их призонной части, работающей на срез, рассчитывается по формуле
![]()
где D1 – диаметр муфты, на котором расположены
отверстия для установки болтов; [τ] – допускаемые
касательные напряжения для материала болта; остальные обозначения представлены
выше. для удобства сборки диаметр
резьбовой части болта обычно выбирается несколько меньше диаметра его призонной
части.
Если болты в
отверстиях полумуфт устанавливаются с зазором, то вращающий момент передаётся
за счёт сил трения, возникающих на торцевых поверхностях фланцев полумуфт и
инициированных силами затяжки болтов. В этом случае внутренний диаметр
резьбовой части болтов может быть найден по выражению
![]()
где Dнар –
максимальный диаметр поверхности трения фланцев муфты, равный наружному
диаметру муфты, а δ=Dвн/Dнар -
отношение диаметров внутреннего и наружного этой поверхности.
Пример
обозначения муфты при Тном
= 63 Н∙м,
d =
Муфта фланцевая 63–22–11 У3 ГОСТ 20761-80.
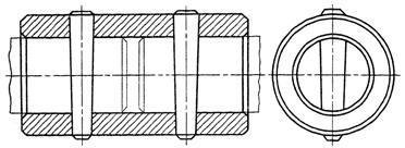
Муфты продольно-свертные (продольно-разъемные) (рис. 1.7) применяются для соединения тихоходных соосных валов с частотой вращения, не превышающей 250 об/мин. Монтажные и демонтажные операции элементов привода не требуют их осевого перемещения и облегчает центровку валов при установке агрегатов на общую раму или фундамент. Сложность балансировки и изготовления двух полумуфт с осевым разъемом, а также повышенные требования к соосности валов ограничивают применение продольно-свертных муфт. Недостатком также является возможность смещения её центра масс с оси вращения валов при неодинаковой затяжке винтов на противоположных сторонах, что может вызывать вибрацию валов, особенно опасную при больших скоростях вращения.
Отечественные серийные муфты (ГОСТ 23106–78*) выпускаются для соединения цилиндрических концевиков валов диаметром (25…130) мм при номинальных крутящих моментах (125…12500) Н∙м с удельной массой (0,019…0,005) кг/Н∙м.
Данным стандартом предусмотрены исполнения с полувтулками 5, показанными на
рис. 1.7, и без них. Конструкция муфты
состоит из двух симметричных полумуфт 1, стягиваемых с помощью болтов 2 и гаек
4 с шайбами 3; двух полувтулок 5, закладываемых в
специальную выточку в полумуфтах, и двух полукожухов 6, закрепляемых винтами 7.
Бурты полувтулок
при сборке входят в соответствующие пазы на концевиках
соединяемых валов и обеспечивают дополнительную осевую фиксацию полумуфт на
валах. Передача нагрузки в муфте осуществляется за счет момента трения,
образуемого трением от силы затяжки
болтов с соответствующими гайками. С целью обеспечения прижатия полумуфт
к валам последние разделены зазорами. Шпонка, которая может быть предусмотрена,
закладывается между полумуфтами в один из зазоров и в расчете, как правило, не
учитывается.
Внутренний диаметр резьбовой части болтов продольно-разъёмной
муфты, необходимых для передачи заданного момента, можно вычислить по формуле
![]()
где T – передаваемый муфтой крутящий
момент; d – диаметр соединяемых концов
валов; z – количество болтов; k – коэффициент режима
работы муфты, учитывающий возможные кратковременные перегрузки (в машиностроении
1≤ k ≤6);
f – коэффициент трения между полумуфтами и поверхностью валов
(для сухих поверхностей из чугуна и стали принимают f = 0,2, при наличии смазки f = 0,08…0,1); [σ]р
– допускаемые напряжения растяжения для материала болтов.

Рис. 1.7. Конструкция
муфты продольно-свертной
Глухие муфты,
жёстко соединяя концы валов, не позволяют им деформироваться под действием
рабочих усилий, возникающих на элементах механизмов, передающих вращательное
движение, таких, как шестерни, звёздочки, шкивы. Это ограничение деформации
валов способствует повышению изгибных напряжений в них и, в конечном итоге, сокращает
срок их службы.
Исключения этой неприятности добиваются посредством применения подвижных муфт – муфт, конструкция которых позволяет отдельным элементам перемещаться в небольших пределах друг относительно друга вместе с концами соединяемых валов. Такие муфты называют иначе компенсирующими. Компенсирующие муфты допускают некоторое несовпадение геометрических осей соединяемых валов. Величину такого несовпадения принято называть величиной смещения (рис. 1.7.1). Взаимное смещение валов относительно номинального положения может происходить в процессе работы механизмов вследствие самых различных причин: деформации валов под рабочей нагрузкой, температурной деформации, износа подшипников, осадки фундамента и т.п. Нетрудно установить, что при соединении валов возможно 3 вида элементарного смещения: радиальное (поперечное рис. 1.7.1, а), осевое (продольное рис. 1.7.1, б) и угловое (рис. 1.7.1, в). Практически, наиболее часто наблюдается комплексное смещение, включающее сразу несколько из названных элементарных смещений.

Рис. 1.7.1. Виды возможного относительного
смещения соединяемых валов:
а) радиальное (поперечное); б) осевое
(продольное); в) угловое.
Муфты рассматриваемого типа являются одними из наиболее распространенных.
Применение компенсирующих муфт позволяет снизить требования к точности расположения валов и уменьшить дополнительные нагрузки на концы валов и опоры.
Все подвижные
компенсирующие муфты можно разделить на две группы: 1) жесткие муфты и 2) упругие муфты.
В жёстких
муфтах подвижность частей обеспечивается конструктивными особенностями их
элементов (расположение частей, величины зазоров, форма поверхностей и т.п.). поэтому жёсткие муфты практически не
способны гасить крутильные колебания, возникающие в механизмах.
В упругих
муфтах подвижность частей достигается за счёт деформации упругого элемента
муфты (разного рода пружины, детали из эластомера, например резины). Деформация
такого упругого элемента происходит, как правило, с достаточно большим
поглощением энергии, последнее способствует интенсивному гашению крутильных
колебаний и более спокойной работе привода в целом.
Среди жестких муфт в зависимости от конструктивных признаков выделяют муфты: зубчатые, цепные, кулачково-дисковые, дисковые и шарнирные.
Муфты зубчатые (рис. 1.8) обладают наибольшей нагрузочной способностью и надежностью среди муфт жестких компенсирующих; они обеспечивают устойчивую работу при окружных скоростях в зацеплении до 25 м/с и частотах вращения (5400…1200) об/мин. Отечественные серийные муфты (ГОСТ 5006 – 96) выпускаются в диапазонах номинальных крутящих моментов (1000…63000) Н∙м и диаметров посадочных отверстий (40…200) мм с удельной массой в указанном диапазоне (0,007 – 0,004) Н∙м; они обладают высокими компенсирующими свойствами по всем видам несоосности.
Зубчатые
муфты общемашиностроительного применения стандартизованы (ГОСТ 5006-83) для
валов диаметром от 40 до 200 мм и передаваемых моментов от 1000 до 63000 Нм. Такие муфты выпускаются двух типов: муфты МЗ – для
непосредственного соединения валов и муфты МЗП – для соединения валов через
промежуточный вал.

Рис. 1.8. Конструкция
муфты зубчатой
Значения допустимых радиальных и угловых смещений являются взаимозависимыми. В табл. 1.1, приведены средние величины ∆r и ∆α.. Более подробно см. приложение В (ГОСТ 5006–96). Указанным стандартом предусмотрены три типа муфт: с разъемной обоймой (тип 1), с промежуточным валом (тип 2) и неразъемной обоймой (тип 3). Кроме того, полумуфты подразделяются по двум исполнениям: с цилиндрическими (исполнение 1) и коническими (исполнение 2) отверстиями для коротких концевиков валов. Исполнение 1 предусмотрено для всех трех типов, а исполнение 2 – только в первом и третьем типах.
Простейшая зубчатая муфта МЗ (рис.1.8) состоит из практически взаимозаменяемых ведущей 1 и ведомой 4 полумуфт с внешними зубьями, двух практически одинаковых зубчатых обойм 2 и 3 с внутренними зубьями, которые скрепляются друг с другом болтовым соединением 7 с гайками 6. К зубчатым обоймам крепятся винтами 9 крышки 5 и 8 со встроенными в них манжетными уплотнениями 10. В одной из зубчатых обойм выполняется отверстие, закрываемое резьбовой пробкой, которое служит для заливки смазки в полость муфты. Внутреннее пространство муфты заполняется консистентной или жидкой смазкой высокой вязкости для уменьшения износа зубьев и повышения КПД муфты.
Зубчатые муфты имеют значительное количество конструктивных разновидностей. К примеру, указанный стандарт, кроме описанного типа, содержит также муфты с неразъемной зубчатой обоймой и с промежуточным валом.
Описываемая муфта часто встречается в различных
механизмах, в которых наружные зубья формируются непосредственно на валах, а
зубчатая обойма с внутренними зубьями закрепляется на приводимый в движение
элемент механизма. Принцип работы муфты очевиден из рис. 1.8. Передача момента между ведущей и
ведомой полумуфтами и зубчатыми обоймами происходит посредством зацепления
зубьев, а между обоймами – с помощью болтового соединения. Компенсирующие
возможности обеспечиваются радиальными и осевыми зазорами зубчатого зацепления.
Для повышения уровня компенсации углового перекоса зубьям придают бочкообразную
форму. Для повышения
износостойкости зубья подвергают термообработке, а в муфту заливают
смазку.
Эти муфты надежны в работе, имеют малые
габаритные размеры, обусловленные передачей нагрузки большим числом
одновременно работающих пар зубьев, технологичность и возможность использования
в практически неограниченных диапазонах угловых скоростей и передаваемых
моментов. Малые диаметральные габариты обеспечили успешное применение этих муфт
и в планетарных передачах.
Детали
стандартных зубчатых муфт изготавливают коваными из
углеродистых сталей типа 45, 40Х или литыми из стали 45Л. Зубья втулок с целью
повышения износостойкости подвергают улучшающей термообработке до твёрдости ≥40HRC, а зубья обоймы – ≥35HRC. Для этих материалов принимают
допускаемые напряжения [σ]см
= 12…15 МПа.
Стандартные зубчатые муфты допускают угловое смещение осей валов до 1,5° и максимальное поперечное (радиальное) их смещение
![]()
где d – диаметр соединяемых валов. При этом, чем больше угловое
смещение валов, тем должно быть меньше радиальное смещение, и наоборот –
большому радиальному смещению должно соответствовать минимальное угловое.
Коэффициент полезного действия зубчатых муфт ηм=0,985…0,995, а поперечное усилие, создаваемое на концах соединяемых валов из-за их относительного смещения F ≈ (0,15…0,20)∙Ft, где Ft – тангенциальное усилие в муфте, действующее на диаметре D0.
Муфты выбирают (величину момента Тм) по наибольшему диаметру концов соединяемых валов. Затем проверяют прочность муфты по формуле:
К1∙К2∙К3 ≤ Тм/Траб,
где К1 – коэффициент, учитывающий степень ответственности передачи:
– останов машины К1 = 1,0;
– авария машины К1 = 1,2;
– авария ряда машин К1 = 1,5;
– человеческие жертвы К1 = 1,8;
К2 – коэффициент, учитывающий условия работы:
– спокойная работа равномерно нагруженных механизмов К2 = 1,0;
– работа неравномерно нагруженных механизмов К2 = 1,1…1,3;
– тяжелая работа с ударами неравномерно нагруженных механизмов К2 = 1,3…1,5;
К3 – коэффициент углового смещения:
|
Угол перекоса валов |
0,250 |
0,50 |
1,00 |
1,50 |
|
Значение К3 |
1,0 |
1,25 |
1,5 |
1,75 |
Тм – наибольший вращающий момент, передаваемый муфтой
Траб – наибольший длительно действующий на соединяемых валах вращающий момент, Н∙м.
Кратковременные максимальные моменты: Тmax ≤ 2Тм.
Радиальная консольная нагрузка на концах валов от муфты:
Fм = 0,4∙103Траб/dм,
где dм – делительный
диаметр зубьев муфты.
С целью
обеспечения возможности смещения втулок относительно обоймы вершины зубьев втулки
выполнены сферическими с центром сферы на оси вращения валов, боковым поверхностям
этих зубьев придана овальная форма, а впадины между зубьями обоймы сделаны
несколько шире по сравнению с толщиной зубьев втулок.
Зубчатое
сопряжение стандартных муфт имеет эвольвентный профиль
с углом зацепления α=
20°, при этом высота
зубьев на втулках составляет 2,25m, а высота контактной
поверхности зубьев -
1,8m.
При проектном
расчёте нестандартных зубчатых муфт делительный диаметр зубьев можно вычислить
по формуле
![]()
где [σ]см – допускаемые
напряжения смятия рабочих поверхностей зубьев; Ψ= b/D0
– коэффициент ширины зубчатого венца (b – ширина зубчатого
венца втулок); остальные параметры определены выше. Для существующих конструкций
муфт Ψ = 0,12…0,16.
Далее,
задавшись числом зубьев z (обычно выбирают 30 ≤ z ≤ 80, для более тяжёлых
условий работы большее число зубьев), определяют модуль m=D0/z, который округляют до
ближайшего большего стандартного значения. По выбранному модулю уточняют все
геометрические параметры муфты.
Пример
обозначения муфты типа 1 при Тм = 4000 Н∙м, с d =
Муфта 1 – 4000 – 65 – 1 У3 ГОСТ Р 50895-96.
То же, одна
из втулок исполнения 1, а другая с диаметром d =
Муфта 1 – 4000 – 65 – 1– 70 – 2 У3 ГОСТ Р 50895-96.
Установленный ресурс муфты не менее 15000 часов.
Муфты цепные (рис. 1.9) менее требовательны по
сравнению с зубчатыми к точности изготовления, что,
естественно, сказывается на их быстроходности. Такие муфты в указанном ниже
диапазоне диаметров соединяемых валов применяются при частотах вращения
(1500…660) об/мин. Они обеспечивают монтаж соединяемых элементов машин без их
осевых смещений, допускают значительные комбинированные смещения осей валов за
счет зазоров между зубьями звездочек, зазоров в шарнирах цепи. В среднем допустимые радиальные смещения не
превышают
Серийно цепные муфты (ГОСТ 20742 – 93) производят для соединения валов диаметром (20…180) мм и передачи моментов (63…16000) Н∙м, удельная масса в этом диапазоне составляет (0,035…0,012) Н∙м.
Стандартом предусмотрены два типа цепных муфт: с однорядной (тип 1) и двухрядной цепями (тип 2). Каждый из типов может изготовляться с полумуфтами четырех исполнений. Исполнения 1 и 2 предназначены для коротких концевиков валов цилиндрической и конической форм соответственно и шпоночных соединений. Исполнения 3 и 4 имеют цилиндрические отверстия с прямобочными шлицами средней серии (исполнение 3) и эвольвентными шлицами (исполнение 4). Применение двухрядной цепи (см. рис. 1.9 в) обеспечивает повышенные компенсирующие возможности. Принцип действия муфт основан на передаче нагрузки с зуба ведущей звездочки на цепь и далее на зуб ведомой. Компенсирование несоосности валов при этом обеспечивается за счет радиальных, боковых и осевых зазоров между зубьями и элементами цепи, а также зазоров в самой цепи. Технические характеристики стандартных цепных муфт приведены в таблице 1.1.


Рис. 1.9. Конструкция
муфты цепной:
а, б – типа 1 с однорядной цепью; в – типа 2 с двухрядной цепью
Конструкция муфты, представленной на рис. 1.9, состоит из двух практически одинаковых полумуфт 1 и 7, насаживаемых на ведущий и ведомый валы, которые соединяются при помощи замкнутой петли однорядной (рис. 1.9 а, б) или двухрядной (рис. 1.9 в) цепи 5. Объединенный силовой блок муфты закрывается разъемным кожухом, состоящим из двух практически одинаковых частей 2, 11 и соединяемых с помощью крепежа, который включает болт 3 с гайкой 9 и шайбой 10. В одной из частей кожуха делается резьбовое отверстие для подачи смазки в полость кожуха, закрывающееся специальной пробкой 4. Для исключения вытекания смазки и предотвращения попадания абразивной пыли в узел трения в кожухе имеются пазы, в них устанавливаются уплотнительные кольца 8, а также прокладка 12. С целью исключения проворачивания кожуха относительно полумуфт в одну из них вворачивается фиксирующий винт 6, который при сборке заводится в специальное углубление одного из полукожухов. Указанным стандартом предусматривается применение муфт без кожуха при номинальном крутящем моменте не более 1000 Н∙м и частоте вращения, не превышающей 600 об/мин.
Пример обозначения муфты типа 1 с Тм = 1000 Н∙×м, d =
Муфта 1000 – 1 – 50 – 1 У3 ГОСТ 20742-93.
То же, типа 2, с Тм
= 500 Н∙м,
с диаметром одной полумуфты d =
Муфта 500 – 2 – 50 – 1 – 56 – 2 У3 ГОСТ 20742-93.
Муфты кулачково-дисковые (крестово-кулисные) (рис. 1.10) являются наиболее простыми в изготовлении из группы жестких компенсирующих. Они могут передавать высокие нагрузки при значительных радиальных и угловых смещениях осей валов: радиальных ∆r <0,05dm (dm – диаметр отверстия под вал) и угловых ∆α – до 1°. Повышенное трение в муфте и интенсивный износ обусловливают ограничение максимальной скорости вращения до (240 … 100) об/мин. Быстрый износ трущихся поверхностей приводит к увеличению зазоров и ограничению использования подобных муфт в реверсивных приводах. Стандартом (ГОСТ 20720–93) предусматривается использование муфт для крутящих моментов (16…16000) Н∙м и диаметрах соединяемых валов (16…150) мм. Удельная масса кулачково-дисковых муфт составляет 0,09…0,012 кг/Н∙м. Стандартные полумуфты имеют четыре исполнения: с цилиндрическими отверстиями для длинных (исп.1) и коротких (исп.2) концевиков и с коническими отверстиями для длинных (исп.3) и коротких (исп.4) концевиков. Технические характеристики стандартных кулачково-дисковых муфт приведены в таблице 1.1.
Силовыми элементами муфты (рис. 1.10) являются одинаковые по конструкции полумуфты 1 и 6, имеющие радиальные пазы на торцевых поверхностях, и промежуточный диск (кулиса) 3 с взаимно перпендикулярными кулачками на противоположных его торцах. При сборке кулачки вводятся в пазы обеих полумуфт и за счет зацепления кулачков с поверхностями пазов передают крутящий момент. Наличие смещения осей валов при вращении полумуфт приводит к относительному перемещению рабочих поверхностей. Для снижения трения и износа трущихся поверхностей к последним подают смазку и защищают их от попадания абразивной пыли. Этой цели служит защитный кожух, выполняемый практически из одинаковых полукожухов 7 и 13, скрепляемых между собой винтами 10 с шайбами 9. Полукожухи фиксированы от осевых смещений винтами 3 с шайбами 5 на одной из полумуфт. Для герметичности полости с силовыми элементами в кожух устанавливается манжетное уплотнение 12, закрепляемое кольцом 11, и паранитовые прокладки по разъему полукожухов. Смазка в полукожухи подается через отверстие, закрываемое пробкой 8. От осевых смещений полумуфты удерживаются винтами 2 с пружинными кольцами 14. Недостаток данного типа муфт – непостоянство угловой скорости ведомого элемента в пределах одного его оборота.
На практике применяют следующие основные профили кулачков:
1) треугольный применяется при малых скоростях и моментах. Легко включается, но при передаче больших моментов возможно самовыключение;
2) прямоугольный применяется при высоких моментах, не требует осевого поджатия, но не обеспечивает сцепление без зазора и поэтому плохо работает при реверсивной нагрузке;
3) трапецеидальный применяется при высоких моментах и скоростях, занимает промежуточное положение между треугольным и прямоугольным профилем.

Рис. 1.10. Конструкция муфты
кулачково-дисковой (крестово-кулисной)
Муфты изготавливают из сталей 20Х, 12ХН3А (цементация и закалка до твердости HRС 54-60) или из сталей 40Х, 40ХН, 35 ХГСА с закалкой до HRС 40-45. Контактные поверхности гребней кулисы и пазов полумуфт подвергают химикотермической или термической обработке с целью достижения высокой твёрдости и контактной прочности.
При работе
крестово-кулисной муфты на несоосных валах гребни кулисы скользят в пазах
полумуфт, а центр кулисы (совпадающий, как правило, с её центром масс) движется
по окружности, диаметр которой равен величине относительного смещения δ
геометрических осей валов, с угловой скоростью равной удвоенной скорости
вращения валов.
Несовпадение центра масс кулисы с её осью вращения приводит к тому, что на кулису действует центробежная сила
![]()
где mк – масса кулисы; aц –
центростремительное ускорение, действующее на кулису; n – частота
вращения соединяемых валов, мин-1.
Полагая диск кулисы сплошным и пренебрегая массой гребней последнее
выражение можно записать
![]()
где s – толщина диска кулисы, а ρ -
плотность материала, из которого он изготовлен.
Сведя все численные величины в один общий коэффициент и приняв, что δ = K∙D, получим
![]()
Из данного
выражения следует, что центробежная сила, действующая в муфте, пропорциональна
кубу её диаметра и квадрату частоты вращения соединяемых валов. Следовательно,
с целью сокращения вредных сил, способствующих увеличению потерь энергии в
муфте и ускоряющих её износ, следует максимально возможно сокращать внешний
диаметр крестово-кулисной муфты и не применять её для соединения валов,
вращающихся с высокими скоростями.
Диаметр крестово-кулисной муфты можно вычислить по соотношению
![]()
где h – высота гребней кулисы; β= dвн/D –
отношение диаметра отверстия в диске к наружному диаметру муфты; [σ]см – допускаемые напряжения
смятия на контактных поверхностях элементов муфты. Для перечисленных выше
сталей принимают допускаемые напряжения [σ]см = 15…20 МПа.
Радиальное
относительное смещение валов и поперечное движение кулисы стимулируют
возникновение поперечной нагрузки на концах соединяемых валов
![]()
где f = (0,12…0,25) – коэффициент трения между боковыми поверхностями
гребней кулисы и пазов полумуфт.
Потери энергии в муфте характеризуются её КПД
![]()
При
практических расчётах обычно принимают ηм≈0,985…0,995.
Для
соединения быстроходных валов применяется другая разновидность
крестово-кулисной муфты (рис. 1.10.1). В этой муфте дисковая кулиса заменена
сухарём, имеющим квадратное поперечное сечение, а пазы на торцах полумуфт
расширены до поперечных размеров сухаря. Сам сухарь изготавливается обычно из
неметаллических материалов (текстолит, фенольно-формальдегидные пластики, капролон и т.п.). В силу малой плотности материала сухаря,
а также меньших его размеров по сравнению с дисковой кулисой, центробежные силы
в этой разновидности муфты значительно меньше по сравнению с муфтой, имеющей
дисковую кулису.
Вместе с тем контактные напряжения на опорной площади боковых граней сухаря изменяются от нуля на одном ребре грани до максимума на другом её ребре. Обозначив отношение толщины сухаря b к длине боковой грани a как β, длину боковой грани сухаря можно вычислить по формуле
![]()
Обычно
относительная толщина сухаря β = 0,25…0,75, а
диаметр муфты D =
(1,5…1,8)∙ a. Для муфт с текстолитовым
сухарём допускаемые напряжения [σ]см = 10…12 МПа, при использовании для изготовления
сухаря стеклотекстолитов конструкционных марок значения
допускаемых напряжений смятия могут быть увеличены в (1,25…1,5) раза.

Рис. 1.10.1. Муфта крестово-кулисная
с неметаллическим промежуточным элементом
Дисковые полужесткие муфты (рис. 1.11) просты в конструктивном исполнении, обладают высокой нагрузочной способностью, надежностью и быстроходностью, не требуют ухода в эксплуатации. Они могут компенсировать незначительные осевые до (0,5…2,5) мм и угловые до (0,5 … 1)° смещения осей валов, но не допускают смещений радиальных. Для отечественных серийных муфт (ГОСТ 26455 – 97) диапазон передаваемых моментов составляет (40…6300) Н∙м с диаметром валов (11…130) мм; удельная масса при этом изменяется в пределах от (0,011 до 0,008) кг/Н∙м.
Указанным стандартом на этот тип муфт предусмотрен выпуск муфт трех типов: одинарных (тип 1), показанных на рис. 1.11; сдвоенных с промежуточной втулкой (тип 2) и с промежуточным валом (тип 3). Муфты второго и третьего типов допускают удвоенное угловое и осевое смещения, а также радиальное смещение ∆r=L0∙sin∆α. В этой формуле L0 – расстояние между пакетами дисков, а ∆α – допускаемое угловое смещение. Одинарная муфта состоит из практически одинаковых полумуфт 1 и 7, которые для крутящих моментов до 100 Н∙м выполняются двухлепестковыми, а для больших значений – трехлепестковыми. Соединение полумуфт осуществляется пакетами дисков 3 и болтами 2. Пакеты составляются из нескольких (на рисунке из 9) отдельных дисков, толщиной (0,3…0,5) мм и отделяются друг от друга насадками 8, конструкция которых очевидна из рис. 1.11. Болты попеременно вставляются в полумуфты и диски и закрепляются гайками 6 с шайбами 5 и 4. Количество дисков в пакете, их толщина определяются величиной передаваемого момента. С целью обеспечения сборки пакеты дисков обрабатываются в комплекте за одну установку. Осевое смещение валов обеспечивается возможностью перемещения полумуфт по посадочным концевикам валов, а угловое – осевым деформированием пакетов дисков в пределах зазоров между ними.


Шарнирные
муфты (рис. 1.12) применяются
при необходимости значительного (до 40-45)°
углового смещения осей валов или когда расстояние между их геометрическими осями
соизмеримо с диаметром самих валов, и особенно при передаче вращения между
валами, которые способны наряду с вращением перемещаться друг относительно друга
в радиальном или в угловом направлении. При этом они могут использоваться в
случае изменении угла смещения в процессе эксплуатации, например в карданных
валах автомобилей. Идея муфты впервые предложена Джироламо Кардано в
Простейшая сдвоенная шарнирная муфта (рис. 1.12 а, б) состоит из взаимозаменяемых ведущей 1 и ведомой 7 полумуфт и промежуточной спаренной вилки 6. Оси вилок полумуфт и спаренной вилки устанавливаются относительно друг друга под углом 90° и соединяются между собой крестовинами, состоящими из сухарей 3, пальца 5, втулок 4 и штифта 2. При соединении вилок полумуфт с крестовиной сначала сухарь вставляется в одну из них и закрепляется штифтом 2 со сквозным (в среднем по его длине) отверстием. Затем на сухарь заводится вилка второй полумуфты (промежуточной вилки во втором типе) и через отверстие в вилке, сухаре и шифте – палец 5. На палец с двух сторон вилки надеваются втулки 4, после чего развальцовывается отверстие на обоих торцах пальца. Развальцовывание пальца делает муфту неразборной. У одинарной муфты (рис. 1.12, в) из конструкции удалена спаренная вилка. Соединение полумуфт с валами в обоих типах осуществляется с помощью штифтов.
Прочность карданной муфты ограничена прочностью крестовины, в особенности мест крепления пальцев крестовины в отверстиях вилок. Поломка крестовины – весьма частый дефект, известный, практически, каждому владельцу заднеприводного автомобиля.
Муфты выбираются по каталогу. Проверочный расчёт ведётся для рабочих
поверхностей шарниров на смятие, проверяется
прочность вилок и крестовины.
Малогабаритные шарнирные муфты стандартизованы в диапазоне диаметров 8...40 мм и моментов 12,5...1300 Нм. Крестовина выполнена в виде параллелепипеда. Шарнир образуется с помощью вставных осей, одна из которых длинная, а другая состоит их двух коротких втулок, стянутых заклёпкой. Конструкция весьма технологична.
На рис.1.11.1
приведена кинематическая схема карданной муфты. При равномерном вращении
входного вала с угловой скоростью ω1 угловая скорость выходного
вала ω2 не будет постоянной, а
мгновенное передаточное число периодически меняется в течение каждого оборота и
составляет
![]()
где γ
-
острый угол между геометрическими осями валов; φ - угол
поворота ведущего вала, отсчитываемый от положения ведущей полумуфты, при
котором её вилка лежит в плоскости, проходящей через геометрические оси соединяемых
валов.
Коэффициент неравномерности вращения ведомого вала в этом случае
![]()
При γ=45° ∆ω=1/
,
а при γ≈52° коэффициент неравномерности
превышает единицу, поэтому применение муфт с шарниром Гука для углов свыше 45° нежелательно.
Для
выравнивания скорости выходного вала применяют муфту со сдвоенным шарниром Гука
соединенным промежуточным валом (карданный вал) (рис. 1.11.1, б). В этом случае, если вилки промежуточного
вала лежат в одной плоскости и γ1=γ2=γ (геометрические оси входного и выходного валов параллельны), либо γ1=γ3=γ, при любом значении g
угловые скорости входного (ведущего) ω1 и выходного (ведомого) ω2 валов равны и, следовательно, u=1.
Коэффициент
полезного действия единичной шарнирной муфты может быть вычислен по соотношению
![]()
где d - диаметр цапфы крестовины;
D – диаметр, на котором расположены цапфы крестовины (расстояние
между серединами цапф, имеющих общую геометрическую ось); ρ -
угол трения для подшипников крестовины.

Рис.1.11.1. Кинематическая схема а - шарнирной муфты Кардана
и б - сдвоенной
муфты Кардана.
Следует иметь в виду, что ведомый вал одинарной шарнирной муфты при его несоосности с ведущим вращается неравномерно при равномерном вращении ведущего вала. Это вызывает дополнительные динамические нагрузки. Синхронное вращение валов обеспечивается двумя шарнирными муфтами, если:
а) оси ведущего и ведомого валов составляют одинаковые углы γ с промежуточным валом;
б) вилки на обоих концах промежуточного вала установлены в одной плоскости.
При углах перекоса осей валов γ≠0 допустимый момент, передаваемый шарнирной муфтой, составляет Тм = Тном∙cosγ, где Тном – номинальный момент


Рис. 1.12. Конструкция муфты шарнирной: а, б – сдвоенной; в – одинарной
Для гашения
крутильных колебаний (колебаний угловой скорости), вызванных силами инерции в
механических приводах широкое применение находят упругие муфты. Главной особенностью этих муфт является наличие
упругого элемента (резиновые втулки, торообразная оболочка, эластичная
крестовина, различного рода пружины и т.п.), который при резком возрастании
нагрузки (момента сопротивления) способен деформироваться, возвращаясь в
исходное состояние при уменьшении нагрузки до нормальной рабочей величины.
Упругие муфты, кроме того, допускают радиальное смещение валов до 0,4…0,6 мм и
угловое смещение осей валов до 1,5°.
Кроме упругого элемента муфты ещё снабжаются, как правило, поглощающим
устройством, предназначенным для диссипации колебательной энергии и
предотвращения резонансных колебаний в элементах привода при неравномерном
вращении его валов. Довольно часто упругий и поглощающий элементы совмещаются в
одной детали.
Демпфирующая
способность муфты характеризуется величиной механической энергии, поглощаемой
муфтой необратимо при деформации её упругого элемента. Поглощение энергии в
муфте происходит либо за счёт трения её деталей друг о друга (пружинные муфты
различной конструкции), либо за счёт внутреннего трения в неметаллическом
упругом элементе. Так, например, многие резиновые упругие изделия способны обратить
в тепло до 25% энергии затраченной на их деформацию.
Основные характеристики упругих муфт – крутильная жесткость и демпфирующая способность.
Муфты с резиновой звездочкой (рис. 1.13) наиболее просты по
конструкции, обладают сравнительно большой нагрузочной способностью и
соответственно имеют меньшие размеры и материалоёмкость по сравнению с другими
муфтами рассматриваемого типа, но при монтажных работах требуют осевого
перемещения соединяемых валов на величину толщины звездочки и обладают
повышенной радиальной и угловой крутильной и изгибной жёсткостью.
Допустимое смещение осей соединяемых валов в радиальном направлении не
превышает
Муфта с резиновой звёздочкой состоит из практически одинаковых ведущей 3 и ведомой 5 (или наоборот) полумуфт с торцевыми кулачками, между лучами которых устанавливается резиновая звёздочка 4. Для номинальных крутящих моментов до 6,3 Нм звёздочки выполняются с четырьмя лучами (лепестками) (рис. 1.13 в), а в более нагруженных муфтах количество лучей увеличивают до 6. В серийных муфтах лучи звёздочек работают на сжатие через один. При изменении направления вращения рабочие лучи становятся недеформируемыми. По длине концевиков валов стандартом предусмотрено два исполнения: исполнение 1 для длинных и 2 – для коротких концевиков в соответствии с ГОСТ 12080-83. Стандартом не регламентирована осевая фиксация полумуфт на валах. На рис. 1.13 для этой цели использованы стопорные винты 1 с пружинными кольцами 2.
Основные направления совершенствования муфт данного типа связаны с профилированием кулачков и звездочек, обеспечивающим их линейный или точечный контакт, снижение контактной жесткости и повышение компенсирующих свойств. В муфтах с профилированными кулачками и звездочками, к примеру, допустимые радиальные смещения возрастают до 1…2 мм при углах перекоса осей валов 2…3 градуса. Среди таких разработок можно выделить муфты французской «Пуль» и итальянской «Сага» фирм. Основные параметры этих муфт также включены в табл. 1.2.
Пример обозначения упругой муфты со звездочкой при Т = 125 Н∙м, d =28 мм. с полумуфтами исполнения 1, климатического исполнения У, категории размещения 3:
Муфта упругая со звездочкой 125 – 28 – 1 У3 ГОСТ Р 50894-96.
То же, с
полумуфтами: одна – d =
Муфта упругая со звездочкой 125 – 32 – 1–36 – 2 У3 ГОСТ Р 50894-96.


Рис. 1.13. Конструкция муфты с упругой звездочкой: а,б –
шестилепестковой; в –четырехлепестковой
Муфты упругие с промежуточным диском (рис. 1.14) по сравнению с предыдущим типом обладают меньшей нагрузочной способностью и соответственно имеют большие габариты и большую материалоёмкость.
При монтажных и демонтажных операциях и замене упругого диска не требуется осевого смещения соединяемых валов. Такие муфты обладают высокой податливостью, это позволяет компенсировать значительные смещения валов, особенно угловых. Из-за невысокой нагрузочной способности их целесообразно применять в соединениях быстроходных валов. Серийно данные муфты выпускаются для валов диаметром (8…36) мм с номинальным моментом (4…200) Н∙м и имеют удельную массу (0,1…0,03) кг/Н∙м (табл. 1.2). В пределах указанных параметров эти муфты используются при частотах вращения соответственно (6000…3000) об/мин.
Муфты с промежуточным упругим диском (рис. 1.14) состоят из одинаковых (обычно трёхлепестковых) ведущей 3 и ведомой 4 полумуфт, промежуточного резинового (резинокордного) упругого элемента 5 и пальцев 1, закрепляемых попеременно в полумуфтах с помощью гаек с пружинными шайбами. На рис. 1.14 использовано резьбовое закрепление пальца, выполненного в виде болта. Для осевой фиксации полумуфт применены стопорные винты 2 с пружинными кольцами 6. Отечественным стандартом (ГОСТ 25021–93) предусматриваются четыре исполнения муфт: первые два имеют цилиндрические отверстия на длинные и короткие концевики валов, третье и четвертое – конические соответственно на длинные и короткие концевики.
Простота конструкции и монтажных операций, высокие компенсирующие возможности обусловили широкий набор разнообразных конструкций рассматриваемых муфт в мировой инженерной практике. Здесь можно назвать муфты французской фирмы «Польстра» с диском «Строфлекс», немецкой фирмы «Монинхофф» и другие, технические характеристики которых также приведены в табл. 1.2. Отличительной особенностью муфт с диском фирмы «Строфлекс» является шестигранная форма упругого элемента, зоны отверстий в котором армированы высокопрочным кордом, а в отверстия завулканизированы втулки, повышающие нагрузочную способность диска. Аналогична по конструкции муфта фирмы «Монинхофф». В отличие от предыдущей конструкции её полумуфты изготавливают из треугольного профиля с частично срезанными углами, в которых располагаются отверстия и силовые пальцы в виде болтов. Армирование диска и применение завулканизированных втулок обеспечивает расширение диапазона номинального передаваемого момента до 6000 Н∙м в муфтах с диском «Строфлекс» и до 2700 Н∙м в муфтах фирмы «Монинхофф» против 200 Н∙м в стандартных отечественных муфтах. Конструктивной разновидностью изучаемых устройств с упругим диском является муфта «Мегифлекс» немецкой фирмы «Вулкан», в которой применен составной резинометаллический элемент, выполненный в виде многоугольника. В вершинах многоугольника расположены скобы с втулками, в которые вставляются пальцы полумуфт. Эта муфта обладает повышенными компенсирующими возможностями: допустимые осевые смещения составляют (4…14) мм, радиальные – (3…15) мм, угловые – (8…6) градусов.

Рис 1.14. Конструкция
муфты с упругим промежуточным диском
Таблица 1.2. Основные параметры серийных упругих компенсирующих муфт
|
Конструктивный тип муфт |
Диапазоны |
Допустимые смещения осей валов |
Максимально допустимая частота вращения [n]**, мин-1 |
||||
|
диаметров соединяемых валов d, мм |
номинальных крутящих моментов [Тном], Н∙м |
удельной массы mуд*, кг/Н∙м |
осевые [l], мм |
радиальные [∆r], мм |
угловые [∆α], град |
||
|
С упругой звездочкой по ГОСТ 14084 – 93 фирма «Пуль» фирма «Сага» |
6…48 14…53 14…55 |
2,5…400 1,8…143 9…720 |
0,06…0,03 0,07…0,05 0,12…0,04 |
- - - |
0,1…0,4 - 1…2 |
1°30'…1° - 2°…3° |
5520…1500 8000…4000 10000…3300 |
|
С промежуточным упругим диском по ГОСТ 25021-93 фирма «Строфлекс» фирма «Монинхофф» фирма «Вулкан» |
8…36 30…145 14…100 8…150 |
4…200 75…6000 100…2250 12…2400 |
0,1…0,03 - 0,024…0,019 0,04…0,02 |
- 1…3 - 4…14 |
0,4…1,5 0,1…1 - 3…15 |
1°…0,75° 1°…5° 2,5° 8°…6° |
6000…3000 6000…2000 7700…2700 9000…1400 |
|
С упругой торообразной оболочкой по ГОСТ 50892-96 выпуклой вогнутой фирма «Штромаг» (выпуклая оболочка) фирма «Фальк» (вогнутая оболочка) |
14…240 14…180 10…300 35…200 |
20…40000 25…16000 5…35000 57…14320 |
0,07…0,02 0,07…0,01 0,16…0,05 0,06…0,02 |
1…11 1,6…9 3…6 ‑ |
1…5 1…6 2…6 1…3,5 |
1°…1°30' 2°…6° 2°…6° 2°…4° |
3000…720*** 5600…1080*** 4000…375 4500…1080 |
|
Примечания: 1. mуд* – изменение удельной массы приведено в указанном диапазоне варьирования [Тном]. 2. [n]** – диапазон изменения максимально допустимой частоты вращения соответствует указанным границам варьирования [Тном]. 3.*** - Отмеченный диапазон применим для муфт с индексом C; для остальных муфт указанные значения следует уменьшить на 30%. |
|||||||
Муфты с торообразной оболочкой (рис. 1.15 – 1.16) обладают повышенной крутильной, радиальной и угловой податливостью, что обусловливает существенное улучшение динамических характеристик (снижение ударных нагрузок, повышение демпфирующей способности). Высокая податливость упругого элемента также обеспечивает повышенные возможности в компенсации всех видов смещения валов. Однако при назначении допустимой несоосности осей соединяемых валов следует принять во внимание, что радиальные и угловые смещения приводят к появлению циклических напряжений в оболочках, их усталостным разрушениям и снижению долговечности. Среди недостатков муфты выделяют малую нагрузочную способность, большие радиальные габариты и повышенную материалоёмкость. Кроме того, смещение осей валов и центробежные силы, действующие на оболочку, приводят к значительным радиальным и осевым нагрузкам валов и опор.
Стандартные муфты с торообразной оболочкой (ГОСТ 20884-96) выпускаются двух типов: с выпуклой (тип 1) (рис. 1.15) и вогнутой (тип 2) (рис. 1.16) оболочками. В свою очередь, муфты с оболочкой выпуклого профиля могут быть с разрезной или неразрезной (ГОСТ 20884-93) оболочкой.
В муфтах первого типа практически одинаковые ведущая 1 и ведомая 3
полумуфты соединены упругими резиновыми или резинокордными оболочками 2.
Армирование оболочки кордом до (6…7) раз увеличивает срок их службы. В
обсуждаемых муфтах с выпуклой оболочкой последняя
выполняется цельной, а для возможности введения крепежных дисков внутрь
оболочки их выполняют в виде двух полудисков 8,
соединяемых диском 9 и винтами 10. Полученный таким образом единый диск (на
рис. 1.15 в собранном виде он показан у полумуфты справа), собираемый внутри
упругой оболочки, прижимает оболочку винтами 6 с шайбами 5 к фланцам полумуфт и
обеспечивает создание трения для передачи нагрузки с ведущей полумуфты на
оболочку и далее на ведомую полумуфту. Для осевой фиксации полумуфты
предусмотрен радиальный винт 4 и пружинное кольцо 7. Стандартные
муфты с оболочкой выпуклого профиля
выпускаются промышленностью для передачи номинальных моментов с 20 до 40000 Н∙м
и соединения валов диаметром от 14 до
Муфты с оболочкой вогнутого профиля (рис. 1.16) состоят также из практически взаимозаменяемых полумуфт 6 и упругой оболочки 5. Для соединения оболочки с полумуфтами используются прижимные кольца 4 с винтами 1 и шайбами 2. Кольца имеют Г-образное сечение, обеспечивающее их повышенную изгибную жёсткость и центрирование по наружному пояску полумуфт. По причине меньшего влияния местных напряжений в зоне зажима борта вогнутых оболочек, в отличие от выпуклых, их разрушение начинается в области сечений с минимальным диаметром оболочки. Высокая податливость упругой оболочки обеспечивает возможность деформации её борта при сборке и введения в отверстие оболочки неразъёмного прижимного кольца 4. Как и в предыдущем типе, для осевой фиксации полумуфт использован радиальный винт 3 с пружинным кольцом 7.
Муфты с вогнутой оболочкой по сравнению с первым типом благодаря упрощению
прижимного устройства имеют меньшую стоимость. Вогнутая оболочка также не
требует осевого смещения соединяемых агрегатов при её замене. Уменьшение
внешнего радиуса оболочки приводит к снижению центробежных сил и осевых
нагрузок на валы и опоры и обеспечивает увеличение на (20…60)% предельной
частоты вращения. Однако в подобных муфтах уменьшение размеров слабого элемента
приводит к большему ограничению передаваемого крутящего момента. Стандартные
муфты с оболочкой вогнутого профиля применяются при номинальных моментах от 25
до 16000 Н∙м;
диаметрах соединяемых валов от 14 до
Металлические детали муфты изготавливаются из стали Ст. 3 (ГОСТ 380-71) или более прочной. Торообразная оболочка прессуется из резины с сопротивлением разрыву не менее 10 МПа и модулем упругости при 100% удлинении не ниже 5МПа. Торообразные оболочки муфт, диаметр которых превышает 300 мм, армируются кордовыми нитями с целью увеличения несущей способности и срока службы.
Подбор муфт с торообразной
оболочкой ведётся по передаваемому вращающему моменту и диаметру соединяемых
валов.
Пример обозначения муфты типа 1 при Т = 250 Н∙м, d =
Муфта 250 – 1 – 40 – 1 У3 ГОСТ Р 50892-96.
То же, одна из полумуфт – d =
Муфта 250 – 1 – 40 – 1 – 36 – 2 У3 ГОСТ Р 50892-96.

Рис. 1.15. Конструкция
муфты с торообразной выпуклой оболочкой

Рис. 1.16. Конструкция
муфты с торообразной вогнутой оболочкой
Привлекательность обсуждаемых узлов с упругими оболочками по динамическим и компенсирующим качествам обусловила широкое разнообразие их конструктивных разновидностей. Муфта «Перифлекс» немецкой фирмы «Штромаг» с разрезной выпуклой оболочкой упрощает конструкцию рассматриваемой сборочной единицы и ее сборку за счет исключения разрезных нажимных дисков и деталей для его сборки. Однако разрез оболочки снижает нагрузочную способность муфты и ограничивает угловую скорость, при которых подобные оболочки целесообразно использовать. Технические данные по этой муфте включены в табл. 1.2).
На рис.1.17 показана ещё одна конструкция оболочковой муфты немецкой фирмы «Вулкан», отличительной особенностью которой является составная упругая оболочка, выполненная из двух симметричных упругих элементов 6 и 9. Сдвоенная форма оболочки позволила выполнить каждый из её элементов с переменной увеличивающейся в направлении к оси вращения и в значительной мере равнопрочной по всему объёму толщиной. Фирма выпускает рассматриваемую конструкцию двух типов. В первой из них предусматривается устройство для ограничения угла относительного поворота полумуфт при значительных перегрузках, что исключает потерю оболочкой крутильной устойчивости и ее разрушение. Во втором конструктивном типе подобное устройство не предусмотрено. Фирма «Вулкан» производит муфты для передачи номинальных моментов 500…1300000 и максимальных кратковременно действующих – 1500…3900000 Н∙м. Диапазон диаметров соединяемых валов составляет 20…330 мм, а допустимые частоты вращения в этом диапазоне – 5870…830 об/мин.
Конструкцию первого типа иллюстрирует рис. 1.17. Передача движения от ведущей (ведомой) 4 к ведомой (ведущей) 14 полумуфтам осуществляется посредством упругих полуоболочек 6 и 9. В борта полуоболочек завулканизированы металлические кольца, обеспечивающие прочное соединение их с полумуфтой 4 и корпусом полумуфты 2. В передаче момента с полумуфты 4 к полуоболочкам участвуют прижимная крышка 10, которая при помощи болтов 18 и гаек 16 зажимает борта составной оболочки между ней и фланцем полумуфты. Сила затяжки болтов обеспечивает создание моментов трения на поверхностях стыка полумуфты и прижимной крышки с оболочками. С целью освобождения этих болтов от изгиба при нагружении полумуфты крутящим моментом установлены разгрузочные штифты 17. Кроме того, отмеченные штифты обеспечивают жесткую связь крышки 10 с полумуфтой 4, что приводит к удвоению числа поверхностей трения крепежного узла полуоболочек и полумуфты и снижению нагрузки болтов. Упругие полуоболочки болтами 5 и нажимным кольцом 11 с резьбовыми отверстиями прижимаются к борту корпуса 2, создавая для передачи нагрузки T необходимый момент трения. Как и в предыдущем случае, с целью освобождения болтов от изгиба при повороте прижимного кольца 11 относительно корпуса 2 оно дополнительно фиксируется штифтами 3. Затем корпус полумуфты далее с помощью болтов 12 и гаек 1 закрепляется на диске 12, который винтами 15 соединяется с полумуфтой 14. Диски 7 и 8, имеющие радиальные выступы и жестко связанные соответственно с узлами ведущей и ведомой полумуфт, ограничивают их относительный поворот на угол более предельного. При достижении моментом предельного значения, не допускающего потерю устойчивости оболочки, выступы дисков 7 и 8 упираются друг в друга. Далее крутящий момент передается с ведущего на ведомый элемент через эти диски. Важно дополнительно отметить, что упругие полуоболочки, замкнутые на одной полумуфте, практически освобождают валы от осевых нагрузок.

Рис. 1.17 Конструкция
муфты упругой оболочковой фирмы «Вулкан»
Муфта
с аксиально расположенными цилиндрическими резиновыми вкладышами фирмы
«Уникум» показана на рис. 1.18. Её полумуфты 1 и 3 снабжены гнездами, в которые
вставляются упругие элементы в форме цилиндров 2. Профиль гнезд в полумуфтах
обеспечивает поворот полумуфт относительно друг друга на угол φ до (10…45)°.
При относительном повороте полумуфт упругие элементы расклиниваются и
подвергаются деформациям сжатия (смятия) и сдвига. При этом с помощью
профилирования гнезд в полумуфтах стремятся максимально снизить напряжения
сдвига. Для исключения выпадения упругих элементов из гнезд на одну их полумуфт
по резьбе наворачивается диск 4, который фиксируется от самоотворачивания
установочным винтом 5. Фирма производит муфты с номинальным моментом от 5 до
800 Н∙м
и диаметром посадочных отверстий от 10 до

Рис.1.18. Конструкция
муфты с аксиально-расположенными
цилиндрическими резиновыми
вкладышами
Муфты упругие втулочно-пальцевые (МУВП) (рис. 1.19) состоят из полумуфт 1 и 2, которые соединяются с помощью жестко закрепленных пальцев 3, затягиваемых по конусной поверхности гайками 9 с шайбами 8 и надеваемых на пальцы упругих резиновых втулок 4 с упорными стальными втулками 5. Для предотвращения осевых смещений полумуфт использованы радиальные винты 6 с пружинными кольцами 7. При передаче крутящего момента полумуфта с ведущими элементами, к примеру с пальцами, давит на резиновые втулки, а последние – на боковые поверхности отверстий ведомой полумуфты. Очевидно, что в этом случае резиновые втулки подвергаются сжатию, на контактирующих поверхностях возникают напряжения смятия, а пальцы при этом изгибаются. Высокое сопротивление втулок деформациям сжатия приводит к сравнительно невысоким способностям муфты в восприятии динамических нагрузок и низким демпфирующим качествам. Для повышения демпфирующей способности втулки выполняются гофрированными или набираются из отдельных колец, выполненных на конус. Высокая жесткость сжимаемых упругих втулок также обусловливает сравнительно невысокие компенсирующие свойства муфты – допускаемые смещения: радиальные [∆r]≤0,2…0,4 мм, а угловые [∆α]<1°. Наличие смещений осей приводит к быстрому износу упругих втулок. Однако простота конструкции, высокая быстроходность и надежность работы, простота замены слабого элемента муфты – резиновых втулок – привели к достаточно широкому использованию МУВП в различных отраслях промышленности. Стандартом (ГОСТ 24424-93) предусмотрены муфты в диапазоне номинальных передаваемых моментов Tном = 6,3…16000 Н∙м и диаметров валов dв = 10…180 мм с удельной массой (0,024…0,019) кг/Н∙м. Допустимая частота вращения в указанном диапазоне параметров составляет (8800…1140) об/мин. Стандартом предусмотрено четыре исполнения полумуфт: в первых двух из них используются цилиндрические формы отверстий, причем исполнение 1 применяется для длинных, а исполнение 2 – для коротких концевиков валов; в исполнениях 3, 4 используются конические отверстия соответственно для длинных и коротких концевиков валов (в соответствии с ГОСТ 12080 и ГОСТ 12081). Фрагмент с коническим исполнением полумуфты также показан на рис. 1.19. В исполнениях с коническими отверстиями для осевой фиксации используют торцевые шайбы, которые закрепляются с помощью гаек, наворачиваемых на резьбовые участки концевиков валов. Торцевые шайбы с гайкой располагаются в специальных выточках на торцах полумуфт (см. исполнение 3 на рис. 1.19).
Находят широкое применение, особенно для соединения электродвигателей с исполнительными механизмами (машинами). Их выбирают по ГОСТ 21424-93 для валов диаметром 9... 160 мм при вращающих моментах 6,3... 16000 Нм.
Полумуфты могут быть изготовлены из чугуна марки не ниже СЧ 21-40 или стали Ст. 3. Для изготовления пальцев используется сталь 45 или более прочная. Кольца и втулки изготавливаются из резины, имеющей прочность на растяжение не ниже 6 МПа и твёрдость 55…75 единиц по Шору.
Муфты данного
типа обладают большой радиальной и угловой жёсткостью, поэтому и механизмы,
валы которых соединяют посредством такой муфты, должны устанавливаться на
плитах или рамах большой жёсткости с максимально возможной точностью центровки
сопрягаемых валов.
Следствием высокой радиальной жёсткости муфты являются большие поперечные нагрузки на концах соединяемых валов. В расчётах радиальную жёсткость муфты принимают приблизительно линейной. В этом случае радиальные усилия на валах могут быть вычислены по приближённому эмпирическому соотношению
![]()
в котором
диаметр большего из соединяемых валов d и величина их
относительного радиального смещения d
должны подставляться в мм, тогда результат будет
получен в кН.
Несущая способность муфт резко падает с ростом перекоса валов.
Размеры муфт подбирают по таблицам в зависимости от вращающего момента, который находят по наибольшему длительно действующему моменту на ведущем валу и диаметру валов.
Расчёт
нестандартных муфт МУВП ведётся по двум основным параметрам: пальцы муфты
рассчитываются на изгиб, а резиновые кольца или втулки на смятие по цилиндрической
поверхности. При этом допускаемые напряжения смятия [σ]см =
1,8…2 МПа. Напряжения смятия для колец и втулок
![]()
где Tк – вращающий момент; dп
– диаметр пальца; Dп -
диаметр полумуфт, на котором расположены отверстия для установки пальцев; l – длина упругого элемента (набора колец или втулки); z – число пальцев.
Напряжения изгиба в пальцах муфты
![]()
где С – зазор между
полумуфтами, составляющий для большинства муфт 2…5 мм. Допускаемые напряжения
изгиба [σ]и =(0,4…0,5)∙σт,
где σт – предел текучести
материала пальцев.
Пример
обозначения муфты при Тном=
250 Н∙м, d =
Муфта упругая втулочно-пальцевая 250 – 40 – 1 У3 ГОСТ 21424-93.
То же, одна из
полумуфт диаметром d =
Муфта упругая втулочно-пальцевая 250 – 32 –
1 – 40 – 4 У3 ГОСТ 21424-93.

Рис. 1.19. Конструкция муфты упругой
втулочно-пальцевой (МУВП)
Рассматриваемый тип муфт, использующих неметаллические упругие элементы, в сравнении с узлами, обладает большей нагрузочной способностью и долговечностью, имеет меньшие размеры, успешно работает при повышенных температурах и в агрессивных средах. Однако такие муфты более жестки и поэтому менее эффективны в снижении ударных нагрузок и демпфировании. Они сложнее по конструкции, изготовлению, монтажу и в эксплуатации, не могут исполнять роль электроизолятора элементов приводных устройств.
Муфты с пакетом радиальных пластинчатых пружин (рис. 1.20). Отечественный стандарт на конструкцию данного типа отсутствует. Типовые муфты с пакетами пружин выпускаются для передачи моментов T = (75…75000) Н∙м при диаметре соединяемых валов (25…250) мм. В указанном диапазоне параметров допустимая частота вращения изменяется от 4200 до 800 об/мин. Конструкция муфты включает, к примеру, ведущую 7 и ведомую 2 полумуфты, которые соединяются друг с другом посредством нескольких (на рис. 1.20 – шести) радиально расположенных пакетов плоских пружин 6. Составной пакет из отдельных пружин применяется для обеспечения демпфирующего эффекта за счет трения между отдельными пластинами при изгибе пакета. Одним концом пакеты вводятся в пазы ведущей полумуфты и закрепляются в ней кольцом 5, входящим в специальные канавки на пакетах и торце полумуфты. Кольцо винтами 4 закрепляется на полумуфте и фиксирует пружины от радиальных и осевых перемещений. Другим концом пакеты пружин входят в трапецеидальные пазы кольца 3, которое совместно с торцевой крышкой 9, болтами 1, гайками 11 и шайбами 10 закрепляется на ведомой полумуфте. Торцевая крышка имеет канавку для установки уплотнительного кольца 8.

Рис. 1.20. Конструкция упругой муфты с
пакетами плоских радиальных пружин
Как следует из рис. 1.21 и приведенных рассуждений, пакет пружин можно рассматривать как балку, закрепленную одним концом в одной из полумуфт (в рассматриваемом случае в ведущей полумуфте, как показано справа на рисунке 1.21).
В
ненагруженном состоянии (движущий момент Tд=0) пакет пружин занимает положение, показанное на рис.
1.21 а (угол относительного поворота полумуфт
φ= 0). При нагружении муфты ведущая полумуфта начинает поворачиваться
относительно ведомой и деформирует пружины. До определенной деформации пакета
плечо приложения тангенциальной силы Ft остается практически неизменным и
равным l1 до достижения моментом некоторого значения T1, при котором касательная к упругой линии
деформации плоской пружины не совпадает с линией скоса паза ведомой полумуфты,
а угол θ1≈α (рис. 1.21, б).
Естественно, что при этом жесткость металлической пружины изменяется линейно.
Дальнейшее увеличение момента Tд и деформации пакета
приводит к смещению точки контакта пружины с боковой поверхностью паза в
направлении оси вращения. При этом текущее значение плеча силы Ft – xi будет
уменьшаться в диапазоне от l1 до l2.
Снижение xi будет иметь место до достижения моментом Tд=T2, а переменность плеча (длины балки) нарушает линейность упругой характеристики муфты. В диапазоне изменения нагрузки от T1 до T2 жесткость муфты становится переменной (участок между т. 1 и т. 2 – рис. 1.21, г) возрастает от Cφ1 до Cφ2. С увеличением нагрузки, превышающей Т2, плечо силы Ft остается неизменным и упругая характеристика вновь становится линейной. Очевидно, что замена трапецеидального профиля паза прямоугольным приведет к полной линейности ее характеристики.


Рис. 1.21. Схема деформирования пакета
пружин при нагружении крутящим моментом Т
и характеристика её жесткости: а – T = 0, φ=0; б – Т = Т1,
φ=φ1 в – T = T2;
φ=φ2;
г – упругая характеристика пакета пружин
Муфта с пакетом аксиальных пластинчатых пружин показана на рис. 1.22. Взаимозаменяемые ведущая 2 и ведомая 4 полумуфты соединяются пакетом пружин 3, закладываемых между специально профилированными радиальными кулачками на обеих полумуфтах. Как и в предыдущей конструкции, пакет из отдельных пружин использован с целью демпфирования колебательных процессов, а выбор профиля кулачка обеспечивает изменение длины пружины в процессе её деформирования и получение нелинейной упругой характеристики муфты. Для фиксации пакетов пружин от радиальных и осевых смещений они помещаются в корпус, состоящий из двух практически одинаковых полукожухов 6 и 8, сцентрированных соответствующими выточкой и выступом, чем они и отличаются друг друга. Полукожухи соединяются болтами 7 с шайбами 9 и гайками 10. Герметизация полости корпуса, образуемого полукожухами, достигается установкой в них манжетных уплотнений 1 и 5, которые удерживают смазку и исключают её загрязнение.
Серийно муфты подобного типа производятся для Т = (180…122000) Н∙м и d = (24,5…278) мм и применяются при допустимых частотах вращения (4030…700) мин-1 (частота снижается с увеличением момента).
К рассматриваемым узлам с пакетом аксиальных пружин также относятся муфты американской фирмы «Вальдрон». Они имеют расширенный диапазон параметров эксплуатации и производятся для передачи номинальных моментов (47…275000) Н∙м и диаметров соединяемых валов (25…336) мм. В указанном диапазоне параметров удельная масса изменяется от 0,068 до 0,007 кг/Н∙м, а допустимая скорость от 4000 до 490 об/мин. Конструкция этой муфты существенно отличается от рассмотренной выше.

Рис. 1.22. Конструкция
муфты с аксиальными пакетами плоских пружин
Муфта с пакетом гильзовых пружин фирмы «Ренк» показана на рис. 1.23. Передача движения, к примеру, от ведущей 4 к ведомой 6 полумуфте (или наоборот) осуществляется посредством пакетов гильзовых пружин, вставляемых в специальные полуцилиндрические гнезда ведущей полумуфты и промежуточного кольца 5, которое вместе с торцевой крышкой 1, болтами 8 с шайбами 13 и гайками 14 закрепляется на ведомой полумуфте. Центрирование этих соединяемых элементов осуществляется с помощью центровочных поясков с обеих сторон промежуточного кольца 5 и соответствующих проточек на полумуфте 6 и торцевой крышке 1. В этой крышке устанавливается уплотнительное кольцо 3, обеспечивающее герметичность внутренней полости с пружинами и смазкой. Пакет гильзовых пружин в рассматриваемой конструкции состоит из набора отдельных пружин (трех в данном случае) 9, 10, 11 и сердечника 12, который винтом 7 крепится к полумуфте 6. Сердечник применяется при необходимости получения нелинейной упругой характеристики муфты. Принцип работы муфты заключается в том, что при нагружении ведущей полумуфты она воздействует на комплект пружин, деформирует его и через него приводит в движение ведомую полумуфту. Типоразмерный ряд выпускаемых фирмой «Ренк» муфт обслуживает диапазон номинальных моментов от 140 до 3580 Н∙м при диаметре валов (35…100) мм. В отмеченном диапазоне параметров удельная масса изменяется от 0,057 до 0,026 кг/Н∙м, а допустимая угловая скорость – от 3850 до 1880 об/мин.

Рис. 1.23.
Конструкция упругой муфты с пакетами гильзовых пружин фирмы «Ренк»
Муфта упругая со змеевидной пружиной немецкой фирмы «Мальмеди» показана на рис. 1.24. Муфта состоит из взаимозаменяемых ведущей 3 и ведомой 5 полумуфт, снабженных зубьями, между которыми укладывается змеевидная пружина 4. Осевую и радиальную фиксацию пружин выполняют полукожухи 1 и 6, которые соединяются винтами 7, заворачиваемыми в резьбовые отверстия полукожуха 1. Профилированием боковых рабочих поверхностей зубьев можно создать муфты как постоянной, так и переменной жесткости. Уплотнительные кольца 2 служат для удержания смазки в полости кожухов.
В муфтах постоянной жесткости форма рабочей поверхности зубьев должна обеспечивать неизменность длины деформируемого участка l во всем диапазоне нагрузки от нуля до Tном, а в муфтах переменной – значения длины варьируются – lvar. Рабочую боковую поверхность зубьев муфт переменной жесткости обычно профилируют по дуге окружности, так чтобы с увеличением крутящего момента T и поворота полумуфт относительно друг друга точки контакта зубьев с пружиной смещались, уменьшая длину lvar с естественным увеличением жесткости пружины и муфты в целом. В случае достижения нагрузкой значения, при котором lvar=lmin, жесткость муфты становится максимальной и с дальнейшим увеличением Т остается постоянной.
Типоразмерный ряд муфт, производимых фирмой «Мальмеди», обслуживает диапазон номинальных моментов
(18…107000) Н∙м
при диаметре валов от 25 до 320 мм. Удельная масса в указанном диапазоне
параметров изменяется от 0,089 до 0,008 кг/Н∙м, а допустимая
частота вращения – от 4800 до 400
об/мин. Рассматриваемая конструкция обладает хорошими компенсирующими свойствами. Она допускает осевые смещения от 4 до

Рис. 1.24. Конструкция муфты со змеевидной
пружиной фирмы «Мальмеди»
Расцепляемыми называют
муфты, основным назначением которых
является соединение или разъединение валов при движении или во время остановки.
Основные требования к расцепляемым
муфтам:
1. быстрота и
лёгкость включения (соединения валов) и выключения (разъединения валов);
2. плавность
включения;
3. надёжность
сцепления валов после включения муфты;
4. высокий КПД,
малый износ и нагрев муфты;
5. простота
регулирования и настройки;
6. незначительные
усилия на органах управления при ручном управлении;
7. минимальные
габариты при заданных несущей способности, и сроке
эксплуатации.
Как отмечалось выше (см. рис. 1.2), в муфтах расцепляемых, самодействующих в зависимости от управляющего параметра, принято выделять муфты предохранительные, центробежные и обгонные.
Муфты предохранительные служат для снижения уровня кратковременных перегрузок на элементы привода машин. Их целесообразно располагать в непосредственной близости к месту возможной перегрузки. По конструктивным типам выделяют муфты с неразрушающейся связью ведущей и ведомой полумуфт (фрикционные, кулачковые и шариковые) и с разрушающимся элементом. Последние используются лишь в приводах со сравнительно редкими перегрузками и простотой операции по замене разрушенного элемента.
Муфты кулачковые и шариковые
предохранительные используются главным образом в тихоходных ступенях приводов
при частотах вращения, не превышающих (1620…300) об/мин в диапазоне изменения моментов от 4 до 400 Н∙м
и малых маховых массах соединяемых технических объектов. Эти муфты предъявляют
повышенные требования к соосности соединяемых валов,
поэтому чаще применяются при установке на одном валу для соединения вала с
деталями типа зубчатые колеса, звездочки, шкивы и т.п.
Достоинство кулачковых
муфт — простота конструкции и малые габаритные размеры; недостаток —
невозможность, как правило, включения на ходу.
Рекомендуемый материал кулачковых полумуфт — легированная
сталь 20Х или 20ХН (с цементацией и закалкой). Рабочие поверхности
кулачков подвергаются химической или химико-термической обработке для
достижения высокой твёрдости контактной поверхности (HRC 56…62). Работоспособность кулачковых
муфт в основном определяется износом кулачков, который зависит от напряжения
смятия на поверхности соприкасания.
Конструкция стандартной кулачковой
предохранительной муфты (ГОСТ 15620-96) представлена на рис. 1.25. Ведущая 1, ведомая 4
(возможно наоборот) полумуфты установлены на концевике
одного вала и разделены втулкой подшипника скольжения 2. Передача момента
осуществляется посредством кулачков, сформированных на торцевых поверхностях
ведомой полумуфты и подвижной втулки 5, устанавливаемой на шлицы ведущей
полумуфты. Кулачки трапецеидальной (реже треугольной) формы втулки 5 входят в
зацепление с кулачками полумуфты 4 под действием пружин 6 и передают движение с
ведущего элемента на ведомый. Регулировка нажатия
пружины Fпр
осуществляется с помощью упорного стакана 7, регулировочной гайки 9 и
фиксирующей многолапчатой шайбы 8. Шпонка 10
предназначена для передачи движения с ведомой полумуфты 4 на сопряженную с ней
деталь (зубчатое колесо, звездочку), а пружинные кольца 3 – для ее фиксации.
При передаче момента Т
на боковых рабочих поверхностях кулачков возникает осевая сила, уравновешиваемая
силой прижатия пружин. С ростом Т осевая сила увеличивается и дополнительно деформирует
пружины. При определенном уровне нагрузки силовой цепи муфты и величине
соответствующей деформации осевая составляющая Fa может превосходить
силу Fпр и силу трения, возникающую на сопряженных
поверхностях кулачков. В этот момент кулачки выходят из зацепления
и ведущая полумуфта свободно поворачивается на один или несколько угловых шагов
кулачков до снижения нагрузки в силовой цепи, при котором сила сопротивления
осевому перемещению кулачков снизится до уровня Fпр. При этом кулачки
вновь войдут в зацепление, восстановится передача движения по силовой цепи. Пересопряжение кулачков происходит со значительными
ударами. Для исключения разрушения рабочих поверхностей кулачков их подвергают
химико-термической обработке, обеспечивающей твердость не ниже (56…57) HRC.
Количество кулачков Zk
с целью упрощения технологии их формообразования рекомендуют принимать нечетным в диапазоне 3…15.
Кулачки кулачковых муфт могут иметь самый различный профиль: прямоугольный,
симметричный трапецеидальный, треугольный или несимметричный трапецеидальный и
некоторые другие. Выбор профиля кулачков определяется многими условиями, как
конструктивного, так и технологического характера. Так, например, прямоугольный
профиль кулачков хорошо обеспечивает передачу вращающего момента, не создавая
при этом осевого выключающего усилия, но при таком профиле кулачков велика
вероятность взаимного утыкания кулачков сопряжённых
полумуфт при попытке их соединения, что особенно неприятно при включении муфты
на ходу. Полумуфты с трапецеидальными кулачками гораздо легче входят во
взаимное зацепление, поскольку в начальный момент соединения ширина впадин
между кулачками существенно превышает толщину входящих в них вершин кулачков.
Наиболее благоприятны с точки зрения лёгкости включения кулачки треугольной
формы, но вследствие относительно больших углов наклона рабочих граней кулачков
в муфтах с такими кулачками действуют максимальные выключающие силы.

Кулачки
кулачковых муфт обычно рассчитываются на контактную прочность и, если длина
кулачка по серединной окружности не превышает его высоты, на изгиб. При этом
предполагается, что нагрузка между кулачками распределена равномерно и давление
по площадке контакта также распределено равномерно. В этом случае
напряжения
смятия
![]()
а напряжения изгиба
![]()
где Tк – расчётный момент, определяемый как сумма рабочего и
инерционного (возможно пускового) моментов; dср – средний
диаметр муфты по кулачкам; z – число кулачков в
одной из полумуфт; F и h – площадь
проекции контактной поверхности кулачка на диаметральную плоскость и высота
кулачка, соответственно; Wи – осевой
момент сопротивления основания кулачка.
При
увеличении степени рассинхронизации скорости соединяемых
валов в момент включения допускаемые контактные
напряжения уменьшают в 1,5…3 раза.
На наклонных рабочих гранях кулачков в работающей муфте возникает осевая сила, стремящаяся развести полумуфты, то есть произвести её выключение. Эта сила
![]()
где f1 – коэффициент трения подвижной полумуфты относительно вала; d – диаметр вала; α – угол наклона рабочей грани кулачка по отношению к диаметральной плоскости; ρ – угол трения между гранями сопряжённых кулачков (tgρ= f, где f – коэффициент трения для тех же поверхностей). Для исключения выключающей силы, гарантирующего невозможность самопроизвольного расцепления полумуфт, необходимо, чтобы выражение в квадратных скобках не превышало по величине нуля. Если принять f1 = f, что достаточно часто соответствует действительности, то условие невыключаемости муфты самопроизвольно запишется, как
![]()
Для принудительного включения муфты под нагрузкой требуется приложить включающее осевое усилие к подвижной полумуфте
![]()
При расчёте
кулачковых муфт обычно принимают f1 = f = 0,15…0,2.
На рис. 1.26 показана
конструкция шариковой предохранительной муфты (ГОСТ 15621-96), принцип действия
и устройство которой аналогичны кулачковой, но контакт жестко связанных с
полумуфтой кулачков заменен зацеплением
свободно вращающихся в специальных гнездах полумуфты 4 шариками 9. Подобная замена улучшает качество рассматриваемых муфт по сравнению с предыдущими
по точности их срабатывания, которое
обусловлено большей стабильностью коэффициента трения качения.

Зубчатые
предохранительные муфты
В зубчатых сцепных
муфтах одна полумуфта представляет собой зубчатое колесо с внутренними зубьями,
а вторая – с наружными при одинаковых модулях и числах зубьев (рис.1.27). В
отличие от кулачковых муфт у зубчатых зубья расположены не на торце, а на
цилиндрической поверхности и имеют эвольвентный
профиль, поскольку зубья с таким профилем легко нарезаются на широко распространённом
зуборезном оборудовании, предназначенном для изготовления зубчатых колёс.
Для облегчения
включения осевых перемещений полумуфты торцы зубьев закругляют.

Рис.1.27. Зубчатая
сцепная муфта
При сближении
полумуфт посредством осевого перемещения подвижной полумуфты зубья одной
полумуфты входят во впадины другой, и вращающий момент передаётся за счёт силового
контактного взаимодействия зубьев боковыми сторонами.
При частом включении и выключении таких муфт на ходу (например, в
коробках скоростей автомобилей), когда либо валы вращаются с разными
скоростями, либо один из них вращается, а другой вообще неподвижен, процесс
включения произойдёт с ударом между боковыми поверхностями зубьев, что весьма
нежелательно из-за воздействия на зубья чрезмерных ударных нагрузок, приводящих
к быстрому износу рабочих поверхностей и в некоторых случаях даже
способных вызвать поломку зубьев. По этой причине кулачковые и зубчатые муфты
часто применяются совместно с дополнительными устройствами (синхронизаторами), обеспечивающими
синхронизацию скорости вращения соединяемых валов перед включением муфты.
Они
представляют собой небольшие конусные фрикционные муфты, включаемые перед
включением основных (зубчатых или кулачковых) муфт для выравнивания скоростей
ведомых и ведущих элементов. Управление синхронизатором и основной муфтой
производят одним движением рукоятки.
На рис. 1.28
показан синхронизатор простейшего типа в сочетании с зубчатыми муфтами для
поочередного соединения валов двух шестерен. При перемещении обоймы 1 с внутренними зубьями вправо или влево
через шарик 2 передается осевая сила
конусной полумуфте 3 синхронизатора,
происходит ее сцепление с конусной полумуфтой шестерни и выравнивание
скоростей. Дальнейшим движением рукоятки включается основная зубчатая муфта 4.

Рис.1.28. Синхронизатор
Фрикционные
предохранительные муфты
Фрикционные муфты (рис.1.29) в отличие от кулачковых, допускают включение на ходу под нагрузкой. Фрикционные муфты передают вращающий момент за счет сил трения. Фрикционные муфты допускают плавное сцепление при любой скорости, что успешно используется, например, в конструкции автомобильного сцепления. Кроме того, фрикционная муфта не может передать через себя момент больший, чем момент сил трения, поскольку начинается проскальзывание контактирующих фрикционных элементов, поэтому фрикционные муфты являются эффективными неразрушающимися предохранителями для защиты машины от динамических перегрузок.
Широкое распространение фрикционных муфт обусловлено их несомненными достоинствами:
1. допускают включение при любом различии угловых скоростей соединяемых валов (не нужно их предварительно синхронизировать);
2. обеспечивают плавный разгон ведомого вала;
3. позволяют плавно регулировать скорость вращения ведомого вала и время его разгона;
4. выполняют предохранительную функцию, ограничивая величину нагрузочного момента, передаваемого от ведомого вала ведущему.
Основным недостатком фрикционных
муфт является неспособность обеспечить полную синхронность вращения ведущего и
ведомого валов вследствие проскальзывания.
Классификация фрикционных муфт:
1. по направлению действия замыкающего усилия – осевые и радиальные;
2. по форме и конструкции элементов трения -
дисковые, в
которых трение происходит по торцевым поверхностям
дисков (одно- и многодисковые) (см. рис.1.29, а);
конусные, в которых рабочие поверхности
имеют коническую форму (рис.1.29, б);
цилиндрические имеющие цилиндрическую поверхность контакта (пневмо-шинные, колодочные, ленточные и т.д.) (рис.1.29, в).
Наибольшее распространение получили дисковые муфты. Чаще
других применяют сухие многодисковые муфты по ГОСТ 15622-77.
Конусные муфты имеют меньшее
усилие сжатия фрикционных элементов и хорошо расцепляются (выключаются). Включение
и выключение конусной муфты осуществляется осевым перемещением одной из
полумуфт. Конические поверхности трения позволяют реализовать значительные нормальные
давления на поверхности трения, что снижает потребное усилие включения.
Для облегчения расцепления муфты угол наклона образующей конуса α назначается меньше
угла трения покоя и составляет 10…15°.
3. по наличию смазки на поверхностях трения
-
сухие и масляные.
В сухих муфтах поверхности трения работают без смазки, в масляных
тела трения погружены в масляную ванну. Последние применяют в ответственных конструкциях машин при
передаче больших моментов. Смазывание уменьшает изнашивание рабочих
поверхностей, но усложняет конструкцию муфты.
Качество фрикционных муфт (жесткость и стабильность сцепления, срок службы, частота включений-выключений) определяются главным образом качеством использованных для их изготовления фрикционных материалов. Эти материалы должны отвечать следующим требованиям:
1. обеспечивать высокий и постоянный во времени коэффициент трения;
2. обладать высокой износоустойчивостью;
3. иметь достаточную прочность при одновременной способности хорошо прирабатываться;
4. иметь высокую теплопроводность для теплоотвода от поверхности трения;
5. иметь высокую теплоустойчивость и химическую стойкость против продуктов разложения и окисления смазочных материалов при высокой температуре;
6. иметь хорошую обрабатываемость, малую стоимость и недефицитность.
Материал
для фрикционных муфт — конструкционные стали, чугун СЧ30. Фрикционные материалы
(прессованную асбесто-проволочную ткань — ферродо,
фрикционную пластмассу, порошковые материалы и др.) применяют в виде накладок.
Муфты предназначены для передачи моментов Тном от 6,3 до 16000 Н∙м с диаметрами валов d = 9…160 мм.
Исполнения посадочных отверстий полумуфт:
1 – цилиндрическое со шпоночным пазом по ГОСТ 23360-78;
2 – с прямобочными шлицами средней серии по ГОСТ 1139-80
3 – с эвольвентными шлицами по ГОСТ 6033-80.
Давление на трущихся деталях создается с помощью механизмов включения
различного вида. Наибольшее распространение получили пружинно-рычажные
механизмы; для дистанционного управления муфтой удобны гидравлические,
пневматические или электромагнитные устройства.
Допускаемое отношение моментов срабатывания Тmax/Тном = 1,2.
Пример
обозначения предохранительной фрикционной муфты с Тном
= 63 Н×м,
d =
Муфта 63 – 25 – У3 ГОСТ 15622-77.
То же, исполнения 2:
Муфта 63 – 6х21х25 – У3 ГОСТ 15622-77.
То же, исполнения 3:
Муфта 63 – Эв.25х1,5х16 – У3 ГОСТ 15622-77.

Рис. 1.29. Фрикционные муфты: а — дисковая;
б — конусная; в — цилиндрическая
Основными критериями работоспособности
фрикционные муфт являются надежность сцепления, высокая износостойкость и
теплостойкость трущихся деталей.

Рис.1.30. Схема
дисковой фрикционной муфты
Схему
простейшей дисковой муфты можно представить так: одна полумуфта укреплена на
валу неподвижно, а другая полумуфта - подвижно в осевом направлении, на
торцевой поверхности каждой полумуфты укреплена фрикционная прокладка (рис.1.30).
Для соединения валов к подвижной полумуфте прикладывают осевую силу Fa. При этом
момент трения Ттр определяют по формуле
k∙T=Tтр=Fa∙f∙Rср,
где k – коэффициент запаса; T – крутящий момент; f - коэффициент трения; Rср - средний радиус рабочих поверхностей:
![]()
Для уменьшения силы Fa и, как следствие, габаритов
муфты применяют конструкции не с одной, а со многими парами поверхностей трения
– многодисковые муфты.
Увеличение Fa ограничено
допускаемым давлением [p] на трущихся поверхностях:
![]()
Схема простейшей конической фрикционной муфты
отличается от дисковой тем, что фрикционные прокладки имеют коническую поверхность.
От действия силы Fa на конической поверхности возникает удельное давление p и удельные силы трения f∙p. Для передачи крутящего
момента T необходимо
выполнение условия
![]()
Из формулы видно, что с уменьшением α увеличивается передаваемый крутящий момент. В этом
заключается основная положительная особенность конических муфт по сравнению с дисковыми. Однако применять очень малые углы α на практике не рекомендуется, так как при этом
происходит самозаклинивание полумуфт. Для устранения самозаклинивания
необходимо, чтобы
α>arctgf
Рассматривая равновесие полумуфты получаем
![]()
Решая эти уравнения совместно, находим
![]()
Условие износостойкости рабочих поверхностей полумуфт записывается так:
![]()
Расчёт
прочности и работоспособности фрикционных муфт выполняется по удельному
давлению на поверхностях трения, а расчёт несущей способности по удельному
давлению и коэффициенту трения на рабочих поверхностях (табл. 1.3)
Таблица 1.3. Допустимые
удельные давления [p] и коэффициенты трения f для некоторых фрикционных пар.
|
Фрикционная |
Условия смазки |
||||
|
масляные |
сухие |
с
попаданием смазки |
|||
|
[p], МПа |
f |
[p], МПа |
f |
f |
|
|
Сталь - сталь |
0,6…0,8 |
0,05…0,08 |
- |
0,18 |
0,1 |
|
чугун - чугун или сталь |
0,6…0,8 |
0,08…0,1 |
0,2…0,3 |
0,15…0,18 |
0,12 |
|
Сталь - бронза |
0,4…0,6 |
0,08 |
- |
0,18 |
0,11 |
|
металлокерамика -сталь |
0,8 |
0,08 |
0,3 |
0,25…0,45 |
- |
|
текстолит - сталь |
0,4…0,6 |
0,1 |
- |
- |
0,12 |
|
Феродо
-
сталь |
- |
0,08 |
0,2…0,3 |
0,3 |
- |
Данные таблицы соответствуют скорости скольжения при включении vs ≤ 2,5 м/с и частоте включений не выше 100 в час. При скоростях скольжения фрикционных элементов в момент включения, превышающих указанную величину рабочее удельное давление следует уменьшить. Для этих условий работы удельное давление может быть вычислено по эмпирической формуле
![]()
где vs - скорость скольжения, м/с; [p] -
допустимые удельные давления из табл. 1.3.
Расчётный рабочий момент муфты зависит от величины передаваемого момента (от момента сопротивления на ведомом валу):
![]()
где β -
коэффициент запаса сцепления (1,2≤β≤3,5, для колёсных транспортных машин
принимают β=1,2…1,5, для гусеничных - β=1,5…2,0); km -
коэффициент, учитывающий частоту включения муфты (при nвкл≤100 km=1, в остальных случаях km=1-0,01(nвкл-100)); kv - коэффициент,
учитывающий скорость скольжения vs (
,
где vs - м/с).

Рис.
1.30.1. Некоторые разновидности фрикционных
муфт
Рабочий момент конусной муфты (рис. 1.30.1, в) и осевое усилие, необходимое для обеспечения контакта фрикционных поверхностей в процессе её работы, связаны с конструктивными параметрами муфты соотношениями
![]()
![]()
В этих
выражениях Dт - средний диаметр
поверхности трения; b -
ширина поверхности трения; p - удельное давление; f -
коэффициент трения; α
-
угол между образующей конуса и осью вала.
Задавшись
коэффициентом ширины поверхности трения Ψ=0,15…0,25
(Ψ=b/Dт)
и выбрав значение угла α
конусной муфты (для трения металла по металлу α= 8°…10°, для дерева по металлу - α≥20°, для кожи и феродо по металлу - α≥12,5°)
можно определить средний диаметр поверхности трения (проектный расчёт).
Дисковая
муфта может иметь одну (рис. 1.30.1, а)
или несколько пар трения (рис. 1.30.1, б).
При этом наружный D и внутренний d диаметры поверхностей трения для всех контактных пар
практически одинаковы. Тогда для всех этих поверхностей ширина b=0,5(D-d), а
средний диаметр Dср=0,5(D+d). В этом случае рабочий момент муфты и осевое усилие,
необходимое для обеспечения необходимого сжатия дисков, связаны с конструктивными
параметрами муфты соотношениями
![]()
и
![]()
В последних
выражениях z -
количество пар поверхностей трения, остальные обозначения определены выше.
Достаточно
часто с целью уменьшения диаметра дисковой муфты увеличивают количество
поверхностей трения за счёт увеличения числа дисков, связанных с ведущей и
ведомой полумуфтами. При этом, как правило, число дисков ведущей полумуфты n1 берут на один меньше числа дисков ведомой
полумуфты n2. Общее число дисков n=n1+n2
не может быть более 30, поскольку при большом числе дисков из-за их перекоса
либо коробления муфта плохо выключается (говорят: «муфта ведёт»).
При проектном
расчёте фрикционных муфт удобным является в первую очередь вычислить
приведённый диаметр муфты Dm
(см. рис. 1.30.1), удовлетворяющий соотношению Tм=0,5∙Ff∙Dm, в
котором Ff -
полная тангенциальная сила трения по всем фрикционным поверхностям. Приведённый
диаметр муфты связан с наружным и внутренним диаметрами поверхностей трения выражением
![]()
где δ=d/D.
Относительный
внутренний диаметр поверхности трения δ
и коэффициент её ширины Ψ
для конических и дисковых муфт связаны соотношением
![]()
Однако более удобным для вычисления относительного внутреннего диаметра δ поверхности трения по заданному её коэффициенту ширины является приближённое эмпирическое выражение
![]()
С учётом использования нескольких пар поверхностей трения, как в многодисковой муфте, приведённый диаметр муфты может быть вычислен по соотношению
![]()
где z – число взаимодействующих пар поверхностей трения, остальные
обозначения определены выше.
При
использовании сегментных накладок или отдельных колодок необходимо учесть
потери площади трения на промежутки между отдельными накладками или колодками.
Группу муфт с силовым замыканием
электромеханической связью составляют
муфты с жидкой или порошкообразной ферромагнитной
смесью, в которых при прохождении электрического тока в катушке возбуждения
возникает магнитный поток, в результате ферромагнитная
смесь, заполняющая зазор между полумуфтами, намагничивается, что обеспечивает
сцепление смеси с поверхностями полумуфт.
Цилиндрические шинно-пневматические муфты.
В этих муфтах трение создается между колодками резинового баллона, связанного с одной полумуфтой и цилиндрическим ободом второй полумуфты. Для включения такой муфты в камеру баллона подается сжатый воздух, прижимающий колодки к цилиндрическому барабану.
Шинно-пневматические
муфты обладают рядом достоинств:
1) удобство управления;
2) возможность регулирования предельного момента и скорости включения;
3) компенсация осевых, радиальных и угловых смещений (на практике наблюдаются радиальные смещения 2–3 мм);
4) самокомпенсация износа и отсутствие необходимости периодической регулировки;
5) хорошая демифирующая способность (смягчение толчков, гашение крутильных колебаний).
К недостаткам муфты относят высокую стоимость баллона, старение резины, чувствительность муфты к попаданию на резину масла, кислот и щелочей.
Шинно-пневматические
муфты принимают в основном в тяжелом машиностроении: в буровых лебедках, в
экскаваторах и т.д.
Предохранительные муфты с разрушающимся
элементом (срезным штифтом)
При
маловероятных перегрузках применяют предохранительные муфты с разрушающимся
элементом, например со срезным штифтом (рис. 1.31). Такая муфта состоит из дисковых полумуфт 1 и 2, соединяемых металлическим штифтом 3, вставленным в термически обработанную
втулку 4. При возникновении перегрузки штифт срезается, и
муфта разъединяет валы. Они просты по конструкции и малогабаритны. Кроме
гладких применяют штифты с кольцевой проточкой в месте
разрушения, обладающие повышенной точностью срабатывания.

Рис. 1.31. Муфта
предохранительная со срезным штифтом:
1,2— полумуфты; 3 — срезной штифт; 4 — закаленные
втулки
Для изготовления деталей предохранительных муфт в зависимости от типа муфты применяют конструкционные стали, чугун СЧЗО, фрикционные материалы, сталь ШХ12 и др. Штифты для муфт с разрушающимся элементом изготовляют из стали 45, втулки — из стали 40Х с закалкой.
Эти муфты предназначены для автоматического разъединения валов в зависимости от изменения одного из следующих параметров: вращающего момента — предохранительные муфты, направления вращения — обгонные, и скорости вращения - центробежные. Эти муфты предназначены для автоматического разъединения валов в тех случаях, когда параметры работы машины становятся недопустимыми по тем или иным показателям.
Муфты свободного хода (обгонные) (рис.1.32) предназначены для передачи вращающего момента в одном заданном направлении. Их применяют в станках, автомобилях, мотоциклах, велосипедах и т.д. В велосипедах, например, они передают крутящий момент от педалей на колесо и в то же время позволяют колесу свободно катиться при неподвижных педалях. Ролики 3 муфты свободного хода за счет сил трения заклиниваются между поверхностями полумуфт 1 и 2. При уменьшении скорости вращения полумуфты 1 вследствие обгона ролики выкатываются в широкие участки вырезов, и муфта автоматически размыкается. На рис.1.32 показана трехроликовая муфта, встроенная в соединение шестерни с валом.
Термин “обгонные” отражает то, что муфты допускают обгон ведущего вала ведомым, отключая валы, если ведомый получает более быстрое вращение от другой кинематической цепи. Различают два вида муфт: фрикционные и храповые.

Рис. 1.32. Роликовая муфта свободного хода
Наибольшее применение получили фрикционные обгонные муфты с роликами, способные передавать значительные вращающие моменты при высоких скоростях, любом числе включений, обладающие бесшумностью и малым “мертвым” ходом. Муфты применяяют в станках, автомобилях, вертолетах, велосипедах и т.д.. Диапазон передаваемых муфтами моментов Т от 0,1 до 100000 Н∙м. Недостатками обгонных муфт с роликами являются строгая соосность валов, повышенная точность изготовления, невозможность регулирования.
Муфты
свободного хода работают бесшумно, допускают большую частоту включений.
Простейшим представителем муфт свободного хода является устройство с храповиком. Вследствие шума на холостом ходу и резкого ударного включения муфты с храповиком применяют сравнительно редко и только при низких скоростях. Бесшумную работу обеспечивают фрикционные роликовые или шариковые муфты. Если шестерня вращается по часовой стрелке, то ролик скатывается в узкую часть паза и здесь заклинивается. Образуется жесткое соединение шестерни с валиком через ролик. При вращении шестерни в противоположном направлении ролик выходит в широкую часть паза и шестерня оказывается разъединенной с валом. В этом направлении она может вращаться свободно.
В
качестве материалов для муфт свободного хода рекомендуют применять стали ШХ15,
20Х, а также высокоуглеродистые инструментальные стали.
Важнейшим параметром муфты является угол α заклинивания; α=4…10º (в нормалях принято α=6º). Трехроликовые (Т = 2,4…74 Н∙м; d = 10…40 мм) и пятироликовые муфты (Т = 56…800 Н∙м; d = 25…90 мм) стандартизованы.
Критерием работоспособности роликовых муфт является контактная прочность рабочих поверхностей роликов и полумуфт.
Центробежные муфты (рис.1.33) служат для автоматического включения (выключения) валов при заданных угловых скоростях. Таким образом, эти муфты являются самоуправляемыми по угловой скорости. Их применяют в качестве пусковых для приводов с большими инерционными массами (грузоподъемные машины, прокатные станы, прессы и др.) при двигателе с малым пусковым моментом. Центробежные муфты позволяют электродвигателю легко (без нагрузки) разогнаться и, по достижении им определенной частоты вращения, начать плавный разгон привода без больших инерционных нагрузок деталей. Пусковые муфты одновременно являются и предохранительными.
Центробежные муфты подразделяют на муфты с грузами (с колодками) (рис. 1.33, а) и муфты с наполнителем (стальными шариками, дробью, смесью стального и графитового порошка с маслом) (рис. 1.33, б).

а) б)
Рис. 1.33.
Центробежные муфты: а) с грузами; б) с наполнителем
На рис. 1.33, а приведена центробежная муфта с грузами, которая представляет собой фрикционную муфту. При достижении ведущим валом и полумуфтой 1 заданной частоты вращения центробежные силы, перемещая грузы 3 с фрикционными накладками в радиальном направлении по направляющим ведущей полумуфты 1, плавно прижимают их к ведомой полумуфте 2 – включают муфту. При снижении частоты вращения ведущей полумуфты грузы возвращаются в исходное положение пружинами 4.
В
показанной на рис.1.33 конструкции любая из полумуфт (1 или 2) может
быть ведущей. Передача вращающего момента осуществляется силами трения, значение
которых пропорционально квадрату угловой скорости. Центробежная муфта
допускает частые включения, обеспечивает плавное включение и имеет
сравнительно небольшие габаритные размеры.
Условие передачи муфтой расчетного момента Тр:
Tf ≥Тр,
где Tf – момент сил трения, Н·м:
Tf = 0,5∙10-3Fц∙f∙D∙z,
где Fц = 103mv2 /r – центробежная сила, Н;
m – масса груза, кг;
𝜔 – угловая скорость, c-1;
r – расстояние от оси вращения до центра масс груза, мм;
f – коэффициент трения;
D – диаметр ведомой полумуфты, мм;
z – число грузов.
Износостойкость рабочих поверхностей трения грузов проверяют по величине давления p, МПа:
p = Fц / (ab) ≤ [p],
где ab – площадь проекции опорной поверхности груза, мм2.
Муфты комбинированные применяются при необходимости объединения функциональных возможностей нескольких типов муфт. Возможности по созданию различных комбинаций муфт практически не ограничены. Однако наиболее часто в конструкторской практике встречаются объединения компенсирующих муфт с предохранительными, а также упругих и предохранительных (см. рис. 1.2). Как следует из рисунка, различные комбинации муфт по функциональным признакам могут реализовываться с помощью комбинирования по конструктивным признакам. К примеру, среди компенсирующих предохранительных муфт часто применяются разнообразные зубчатые и цепные муфты со срезными штифтами, а также многообразными фрикционными устройствами. Подобные комбинации выполняются не простой последовательной установкой двух рассматриваемых муфт, а объединением их в единый узел, позволяющий существенно сократить габариты, материалоёмкость, трудоёмкость изготовления. Использование комбинированных муфт в курсовых проектах будет весьма полезно студентам, желающим приобрести расширенную конструкторскую подготовку.
На рис. 1.34 показана конструкция комбинированной муфты, в которой компенсирующее зубчатое устройство сочленено с разрушающимся предохранительным элементом в виде срезаемых штифтов. Передача движения от ведущей, к примеру, зубчатой полумуфты 18 с помощью зубчатого зацепления передается к обойме 13 и далее болтовым соединением, включающим болты 15 с соответствующими шайбами и гайками 11 и 10 – на обойму 12. Эта обойма зубчатым зацеплением передает движение на втулку 6, которая имеет два консольных выступа с расположенными в них втулками 2 и срезными штифтами 3. Втулки 2 изготавливаются из материалов, обеспечивающих твердость поверхности после соответствующей термической обработки не ниже 50 HRC. Данные втулки предназначены для снижения давления в месте их контакта со втулкой 6. В дальнейшем движение от втулок 2 передается на штифты 3 и вновь на втулки 2, установленные в ведомой полумуфте 4. Для исключения выпадения втулок со штифтами отверстия под втулки закрываются винтовыми пробками 1. При достижении передаваемым моментом предельного значения напряжения сдвига в штифтах становятся равными пределу прочности, и они разрушаются. В этом случае движение на ведомую полумуфту не передается, и она останавливается. Для возобновления движения необходима замена штифта.
Поскольку нормальные условия работы зубчатых зацеплений требуют смазки, то в полости зубчатых обойм 12 и 13 предусмотрены пробки 17 с соответствующей прокладкой 16 для подачи смазывающих материалов. С целью удержания смазки со стороны ведущей полумуфты устанавливаются крышки 19 и 21 с уплотнением 20, закрепляемые к зубчатой обойме винтами 7. Аналогичную задачу со стороны обоймы 12 выполняет разъемная крышка с уплотнением 8. Для обеспечения возможности сборки крышка выполнена в виде полуколец 9, соединяемых с помощью болтового соединения на основе болтов 14.

Рисунок 1.35 иллюстрирует конструкцию упругой предохранительной муфты, в которой объединяются торообразная оболочка и фрикционная предохранительная муфта.

Применяемые в машиностроении муфты стандартизованы. Муфты каждого типоразмера выполняют для некоторого
диапазона диаметров вала. Основным критерием при выборе
стандартных муфт является передаваемый вращающий момент T (указывается
в стандарте.
При
проектировании новых муфт конструктивные размеры элементов муфты определяют расчетом.
Стандартизованные (серийные) или нормализованные муфты не рассчитывают. При
подборе серийных муфт заранее известны их слабые звенья, критерии
работоспособности и значение допускаемого номинального крутящего момента [Tном],
приводимого в каталогах изучаемых устройств, при котором обеспечивается
работоспособность наиболее слабых звеньев в течение планируемого срока службы.
Расчет муфт в подобных ситуациях заключается в проверке условия
Tp≤[Tном].
После выбора
муфты с соответствующим максимальным передаваемым моментом проверяется
возможность установки элементов муфты на соединяемые валы уже известного
диаметра. При этом следует учесть, что, во-первых, стандартами допускается
изготовление одинаковых элементов муфты на несколько вариантов посадочных
диаметров, а во-вторых, большинство муфт допускает расточку посадочных
отверстий в достаточно широком диапазоне, и такая расточка, если она
необходима, должна быть указана в заказной спецификации.
Проектирование типовых конструкций с размерами, выходящими за рамки типоразмерного ряда серийных муфт, а также новых их конструкций требует проведения силового анализа и расчетов силовых элементов по соответствующим критериям работоспособности. Широкий набор муфт, разнообразных по принципу действия, обусловливает различные подходы к их силовому анализу и методам расчета. Ниже рассмотрены примеры отмеченных операций для нескольких типовых конструкций, которые позволят обучающимся самостоятельно решать подобные вопросы применительно к заданным в курсовых проектах муфтам. Указанные операции решаются в такой последовательности:
1) устанавливают силовую цепь муфты, то есть
последовательность деталей и их
элементов, по которым передается
крутящий момент;
2) выясняют нагрузку (крутящий, изгибающий
моменты; тангенциальные, радиальные и тому подобные силы) на каждом из силовых
элементов и производят ее вычисление;
3) устанавливают наиболее вероятные отказы и
соответствующие им критерии работоспособности и записывают математические
модели, обеспечивающие работоспособность деталей и их элементов;
4) проводят проектные и проверочные расчеты силовых
элементов муфт и устанавливают слабые звенья.
Из общих положений силового анализа также следует выделить следующее. Его исходными данными являются расчетный момент и геометрические параметры муфты. Из этого следует, что уточненный силовой анализ может быть выполнен лишь на стадии проверочных расчетов, когда геометрия обсуждаемого объекта определена. В качестве расчетного момента обычно принимают
Tp=Tном∙K1∙K2,
где Tном - номинальный (максимальный длительно действующий) момент
К1 – коэффициент ответственности передачи (К1=1 – поломка муфты не вызывает аварии машины; К1=1,2 – поломка муфты ведет к аварии машины; К1=1,5 – поломка муфты ведет к аварии ряда машин);
К2 – коэффициент условий работы муфты
(К2=1 – спокойная работа муфты; К2=1,1…1,3 – неравномерная
нагрузка; К2=1,3…1,5 – тяжелая работа с ударами).
Особые условия работы могут быть
учтены посредством введения дополнительных повышающих коэффициентов.
Применительно ко всем типам муфт общими силовыми звеньями являются полумуфты с соответствующими соединениями «вал – ступица» и звенья, передающие крутящий момент с ведущей полумуфты на ведомую. Силовой анализ этих общих элементов муфт более подробно рассмотрим на примере фланцевой муфты (рис.2.1). Параллельно с силовым анализом установим для элементов выделенной муфты критерии работоспособности и математические модели их расчетов, которые по аналогии могут быть использованы в разнообразных рассматриваемых сборочных единицах.
Ведущая и ведомая полумуфты с помощью шпоночного (шлицевого и т.д.) соединения нагружаются крутящим моментом. Можно принять равномерное увеличение момента по длине ступицы, как это показано на эпюре Т, и полагать, что к месту перехода втулки во фланец (сечение 1-1) момент Tp будет полностью переведен с вала на полумуфту или наоборот (см. эпюру Т на рис. 2.1, а). Очевидным критерием работоспособности полумуфт будет крутильная прочность, математическую модель условия соблюдения. Критерий можно записать как
![]()
где Wρ1 – полярный момент сопротивления втулки полумуфты в принятом опасном сечении 1-1; [τ]кр – допускаемые напряжения кручения; d0=dв – диаметр посадочного отверстия и вала соответственно; Dст – наружный диаметр ступицы.

Рис. 2.1. Силовой и прочностной анализ муфты фланцевой: а – конструкция муфты с болтами (вариант 1 – болты поставлены без
зазора,
вариант 2 – болты поставлены
с зазором); б – расчетная схема
шпонки; в –
расчетная схема болтов, поставленных без зазора;
г – расчетная схема болтов,
поставленных с зазором
Полярный момент сопротивления втулки полумуфты в сечении 1-1 в ориентировочных расчетах обычно определяют без учета шпоночного паза.
Силовым элементом полумуфты также является рабочая поверхность шпоночного паза. Его боковая поверхность нагружена тангенциальной силой Ftш (рис.2.1, б), которая определяется из условия равновесия шпонки на валу или в ступице
![]()
В качестве плеча силы без заметной погрешности принимают радиус посадочного отверстия d0/2. Сила Ftш реализуется как равнодействующая давления по боковой поверхности шпоночного паза. На рис. 2.1, б показаны фактическая (сверху) и условно принимаемая в расчетах (снизу) эпюры распределения силы давления по высоте рабочей боковой поверхности паза. Природа фактического распределения обусловлена снижением деформаций волокон паза с удалением их от оси поворота шпонки относительно паза при нагружении. Эпюра распределения силы Ftш по длине паза считается равномерной. Сила Ftш приводит к смятию рабочих участков боковых поверхностей шпонки и пазов вала и ступицы, а также к срезу шпонки по сечению, обозначенному на рис. 2.1, б. С позиций работоспособности полумуфты необходимо устранить опасность смятия опорной поверхности паза. Условие обеспечения работоспособности в случае применения, к примеру, призматической шпонки имеет вид
![]()
где Aсм – площадь смятия; lp – расчетная длина шпонки; h – высота шпонки; t1 – глубина паза на валу; допускаемые напряжения [σ]см принимают по материалу полумуфты.
Первичные операции силового
анализа соединительных звеньев
многих муфт также во многом однотипны. Заметим, что первоначально силовой
анализ проводится для установившегося движения и в его основе лежат условия
равновесия в статике. Муфта в целом находится в равновесии относительно оси
вращения под действием момента движущего Tрд,
приложенного к ведущей полумуфте и момента сопротивления движению Tрс
на ведомой полумуфте. Условие равновесия муфты (Σm0=0) имеет вид Tрд-Трс=0,
откуда вытекает Tрд=Трс=Тр. Каждая
из полумуфт также находиться в равновесии. Равновесное состояние ведущей
полумуфты поддерживается моментом Tрд и
суммарным моментом сил Ft1c (Ft1c∙Rc∙Zб) на Zб
болтах, участвующих в передаче нагрузки. Сила Ft1c приложена к болту со стороны ведомой полумуфты в
месте их контакта. Равновесие ведомой полумуфты обеспечивается суммарным
моментом движущей силы Ft1д (Ft1д∙Rc∙Zб) и
момента сопротивления Трс. Уравнение равновесия полумуфт
![]()
Равенство Tрд и Tрс обусловливает равенство сил Ft1д и Ft1c.
С учетом погрешностей изготовления деталей полумуфт (отклонения в радиусе расположения силовых элементов Rc, угловом шаге болтов и т.п.) силы Ft1 не являются равными, что можно учесть коэффициентом неравномерности Kн. Тогда решение (2.4) относительно Ft1 принимает вид
![]()
Коэффициент Kн при отсутствии иных значений можно принимать равным 1,1…1,3. При назначении Zб в стандартной муфте фланцевой подставляют не общее их число, а только число болтов, поставленных без зазора, которые обычно устанавливаются через один с болтами с зазором. Последние в расчетах принято не учитывать, так же как и момент трения в стыке полумуфт (затяжка болтов не предусматривается).
Как отмечалось (см. подраздел 1.3.1.1) болты, соединяющие фланцы муфты, могут выполнять как функции крепления полумуфт и их центрирования, так и чисто крепежные задачи. В первом случае они устанавливаются без зазора, а во втором – с зазором. Это обстоятельство существенно сказывается и на силовом анализе болтов и на оценке их работоспособности.
Расчетные модели прочностного анализа болтов, установленных без зазора. В случае установки болтов без зазора их тела (на участке установки с натягом диаметром dб) препятствуют повороту полумуфт относительно друг друга под действием момента своим сопротивлением деформациям сдвига и смятия (рис. 2.1, в). Таким образом, в данном расчетном случае к критериям работоспособности болтов следует отнести их прочность на срез
![]()
и на смятие
![]()
где Aср, Aсм – площади среза и смятия соответственно; [τ]ср, [σ]см – допускаемые напряжения среза и смятия; h2 – минимальная длина участка тела болта, контактирующего с полумуфтой (на рис. 2.1 она увеличена для четкости изображения, а на самом деле она принимается меньше толщины фланца h1 на 1 – 1,5 мм).
Определение площади площадок среза и смятия одного болта иллюстрирует рис. 2.1, в. Очевидно, площадка среза представляет собой круг, а площадка смятия – полуцилиндр. В расчетах полагают равномерное распределение напряжений среза по сечению, что и отражено в зависимости (2.6). Фактическое распределение σсм в поперечном сечении имеет сложный вид (см. реальную эпюру σсм на рис.2.1, в). Максимальные и, следовательно, наиболее опасные напряжения σmax имеют место в плоскости действия F1t в силу наибольшей здесь деформации. Для оценки σсм прибегают к простому приему – сокращают фактическую площадь смятия (площадь полуцилиндра Aсмф=0,5πdб∙h2) до проекции этой площади на диаметральную плоскость Aсм=dб∙h2. В этом случае средние напряжения весьма близки к σmax на фактической эпюре.
Сформулированные модели для болтов фланцевого соединения, установленных без зазора, могут быть применены при проектировании разнообразных муфт с использованием жестких фланцев, которые предназначаются для передачи крутящего момента. Здесь можно назвать различные модификации зубчатых муфт (см. рис. 1.8), муфты с радиальными пакетами плоских пружин (см. рис. 1.20) и тому подобные в случае, если планируется использование фланцевых соединений с болтами без зазора.
Расчетные модели прочностного анализа болтов, полностью установленных с зазором. Если болты установлены с зазором, то их тело не сопротивляется повороту полумуфт относительно друг друга в пределах зазора между стенкой отверстия и телом болта. Это обстоятельство исключает нормальные условия эксплуатации муфты (дополнительный изгиб болта, относительные повороты полумуфт при реверсе, дополнительные динамические нагрузки и т.п.). Исключение относительного поворота полумуфт в подобных конструкциях достигается за счет организации момента трения Тfr на поверхности стыка фланцев, отвечающего условию
Tp≤Tfr. (2.8)
Выражение (2.8) является условием обеспечения работоспособности фланцевого соединения с болтами, установленными с зазором. Для оптимального обеспечения этого условия (Тр = Тfr) на основе расчетной схемы рис. 2.1, г оно может быть записано как
Tp=Ffr∙Rfr=Fn∙f∙Rfr, (2.9)
где Ffr – равнодействующая сил трения, распределенных по контактирующим поверхностям фланцев (в дальнейшем для краткости – просто сила трения); Fn – нормальная сила прижатия контактирующих поверхностей, необходимая для создания требующейся силы трения; f – коэффициент трения; Rfr – радиус приложения силы трения.
С целью придания выражению (2.9) универсальной формы и возможности его использования для других типов муфт (например, различных фрикционных) введем в это уравнение число поверхностей трения Zfr, учитывая прямо пропорциональную зависимость момента трения от Zfr. Поверхность трения образуется парой контактирующих поверхностей, стремящихся к сдвигу относительно друг друга. Очевидно, что для фланцевой муфты такая пара является единственной (Zfr =1). При этом (2.9) в универсальном виде запишется как
Tp=Fn∙f∙Rfr∙Zfr, (2.10)
Распределение силы трения по контактирующим поверхностям и, следовательно, радиус, на котором следует приложить Ffr, определяются законом распределения по ним удельных давлений q. Распределение последних зависит от способа приложения силы, параллельности трущихся поверхностей, качества их обработки, жесткости дисков и т.д. С позиций обеспечения равномерной нагрузки элементов муфт предпринимают все конструктивные приемы выравнивания q. В рассматриваемой фланцевой муфте это требование достигается количеством болтов и соответствующей жесткостью фланцев (главным образом их толщиной). В случае равномерного распределения q, следовательно, и сил трения по всей поверхности фланцев, равнодействующая Ffr смещается к их периферии. С физических позиций она будет расположена на радиусе окружности, делящей поверхность трения на два равновеликих по площади кольца. При построении расчетной модели определения Rfr можно поступить так. На сопряженнной поверхности фланцев с наружным Dн и внутренним Dв диаметрами выделим на радиусе ρ кольцо элементарной толщины dρ. Момент трения на нем при сдавливании постоянным удельным давлением определится по очевидной зависимости
dTfr=dFfr∙ρ=q∙dAfr∙f∙ρ∙dρ, (2.11)
где dFfr – сила трения на выделенном элементарном кольце.
Если учесть, что площадь элементарного кольца dAfr=2π∙ρ∙dρ, и вновь с целью универсализации расчетной зависимости ввести количество поверхностей трения Zfr, окончательно получим
dTfr=2π∙q∙f∙Zfr∙ρ2∙dρ. (2.12)
После интегрирования (4.12) получим выражение для оценки полного момента трения на поверхности фланцев

С учетом того, что в качестве нормальной к поверхности трения силы
выступает сила затяжки болтов (Fn=Fзат) и
удельные давления
,
момент трения окончательно определится по зависимости
![]()
Из сравнения правой части уравнений (2.10) и (2.13) очевидно, что
![]()
Условие обеспечения работоспособности муфты в целом при установке болтов с зазором (2.8) в оптимальном варианте позволяет вычислить требуемую суммарную силу затяжки установленных Zб болтов:
![]()
Очевидно, что сила затяжки болтов сжимает фланцы, а сила их упругого сопротивления
сжатию будет растягивать болты. Напряжения растяжения в болте, принимая
равномерной нагрузку Zб, будет
![]()
где F1зат – сила затяжки одного болта; Aб – площадь опасного сечения болта, вычисляемая по внутреннему диаметру резьбы d1.
Для обеспечения Fзат при сборке муфты необходимо завернуть
резьбовое соединение ключом или гайковертом моментом Tкл.
Часть этого момента Tкл.р≈0,1∙F1зат∙d, характеризующая сопротивление завинчиванию в резьбе, будет
скручивать тело болта (оставшаяся часть момента ключа приложена к торцу гайки и
опорной поверхности фланца и в скручивании болта участия не принимает).
Напряжения кручения при этом в соответствии с (2.1) запишем как
![]()
Таким образом, болты во втором варианте имеют сложное
нагружение, при котором их прочность оценивается по зквивалентным напряжениям. Для болтов обычно при
вычислении используют энергетическую
теорию прочности

При d/d1≈1,2 в стандартных крепежных резьбах и контролируемой затяжке болтов значение корня можно принять равным 1,3. Тогда условие прочности болта примет вид
σE=1,3∙σp≤[σ]p. (2.20)
Допускаемые напряжения принимают в соответствии с выбранными материалами болтов, характерными особенностями болтового соединения и его нагружения.
Условия работоспособности элементов муфты (2.1), (2.3), (2.6), (2.7) и (2.20) имеют форму проверочных расчетов, для реализации которых необходимо иметь как сведения о нагрузке этих элементов, так и их геометрические параметры. Как известно, эти зависимости могут быть преобразованы в проектные расчеты.
1. Определение размеров полумуфт. Диаметр d0 и длину l посадочного отверстия полумуфты обычно назначают по размерам концевика вала, конструирование которого предшествует созданию муфты.
Наружный диаметр ступицы dст также может быть определен из условия оптимального обеспечения крутильной прочности (2.1), которое представим в виде
![]()
В этом выражении допускаемые напряжения [τ]кр устанавливают в соответствии с выбранным материалом полумуфты. Записанное уравнение можно решить относительно неизвестного наружного диаметра ступицы
![]()
Применительно к полумуфтам, изготовленным из стали, и при использовании переходных посадок в проектном виде широко используется упрощенная зависимость Dст=(1,5…1,6)d0.
Длина ступицы l также может быть определена расчетным путем по соответствующему критерию работоспособности. В качестве такого критерия выступает прочность поверхности шпоночного паза по напряжениям смятия (2.3). Указанная зависимость может быть представлена в проектном виде относительно требуемой расчетной длины шпонки
![]()
Полученная расчетная длина шпонки корректируется в соответствии с ее конструктивными особенностями и округляется до стандартного значения. Длина ступицы lст полумуфт обычно увеличивается по сравнению с длиной шпонки на 5…10 мм. Однако при назначении lст следует принять во внимание, что прочность шпоночного паза не является единственным требованием к длине ступицы. Другим важным требованием к этому параметру полумуфт является исключение перекоса их на валу. В соответствии с ним для стальных полумуфт рекомендуют принимать lст≥0,8d0 при посадках с натягом, lст=(1,5…1,6)d0 в случае использования посадок переходных, lст=(2…3)d0 при посадках с зазором.
Другим важным размером полумуфт, влияющим на силовые параметры и работоспособность муфт, является диаметр Dc, на котором располагаются силовые элементы, передающие крутящий момент с одной полумуфты к другой. Величина Dc связана с такими первично неизвестными при проектировании, как размеры силовых элементов и их количество. По этой причине определение параметров проводят в итерационном режиме: сначала назначают Dc ориентировочно на основе анализа аналогичных конструкций, к примеру, для серийных фланцевых муфт в предусмотренных стандартом типоразмерных рядах Dс=(3…1,8)d0. Затем проверяют полученную величину с позиций удовлетворения поставленным требованиям.
2. Определение размеров элементов, соединяющих полумуфты. Во фланцевой муфте таким единственным элементом являются болты, которые могут устанавливаться в соответствии со сказанным выше без зазора либо с зазором.
При установке болтов без зазора критерии их работоспособности (2.6) и (2.7) с учетом (2.5) могут быть записаны соответственно в виде
![]()
![]()
Решим каждое из этих уравнений относительно требуемого диаметра тела болта:
![]()
![]()
Каждая из этих проектных формул имеет количество неизвестных более одного, поэтому, как и в предыдущих задачах, используют их в итерационном режиме. К примеру, в уравнении (2.26) зададимся Dc, Zб, а в (2.27) – Dc, Zб, h2. Для ориентировочной оценки неизвестных параметров, входящих в эти формулы, первоначально можно ориентироваться на усредненные их значения серийных однотипных муфт, рекомендации справочной литературы, индивидуальные конструктивные требования к проектируемой муфте и т.д. В качестве примера индивидуальных требований можно назвать размещение ее в составе сборочной единицы более высокого иерархического уровня.
Для дальнейших проектных операций принимают большее из dбср и dбсм значений, так как оно соответствует более значимому критерию работоспособности. Вычисленный диаметр тела болта округляют до необходимого значения в соответствии с технологическими требованиями (к примеру, до диаметра стандартной развертки, с помощью которой планируется обработка отверстий под болты). Округление обычно производят в большую сторону, то есть в сторону увеличения запаса прочности. Однако возможно округление до ближайшего меньшего значения, если величина перегрузки при этом не превосходит (3…5)%. Далее назначают стандартный номинальный диаметр d резьбового участка, принимая его с целью исключения повреждения резьбы при сборке размером ближайшим, меньшим по сравнению с dб. Для болтов, которые в рассматриваемых конструкциях муфт устанавливаются с зазором, с целью унификации шайб и гаек назначают тот же номинальный диаметр резьбы.
При установке болтов с зазором условие их прочности (2.20) с учетом (2.16) и (2.17) может быть записано так:
![]()
После подстановки π и решения уравнения относительно внутреннего диаметра резьбы получим
![]()
Для решения этого уравнения предварительно необходимо установить материал полумуфт, назначить чистоту обработки сопряженных поверхностей фланцев и соответствующее им значение коэффициента трения, принять материал болтов и определить допускаемые напряжения [σ]p, ориентировочно задаться числом болтов Zб и радиусом трения Rfr. В дальнейшем в режиме итераций стремятся удовлетворить поставленным требованиям. После этого подбирают номинальный диаметр болта с внутренним диаметром резьбы, примерно соответствующим вычисленному значению d1p. Напомним, что округление в меньшую сторону допустимо в пределах перегрузки, не превышающей (3…5)%.
Как отмечалось выше, при подборе серийных муфт учитывают значительное количество факторов, среди которых важнейшим является требование Tp≤[Tном]. Записанное условие является требованием обеспечения работоспособности муфт в целом. В большинстве случаев она определяется слабым элементом узла, поскольку условие равнопрочности не всегда достижимо. Выявление слабого элемента применительно к муфтам с теоретических позиций может быть установлено путем сравнения допускаемых моментов, вычисленных по всем критериям работоспособности силовых элементов обсуждаемого узла. Естественно, что слабым звеном будет элемент, имеющий минимальное значением [Тном] по какому-либо из выделенных критериев работоспособности.
Применительно к фланцевой муфте с установкой болтов без зазора значение допустимого момента следует определять из условий (2.1), (2.6) и (2.7). Выполним эту операцию, к примеру, для условия (2.1). Выражение (2.1) при получении проектной зависимости было приведено к виду (2.21), которое несложно решить относительно момента Tp для установленных типоразмеров серийных фланцевых муфт. При этом в случае равенства τкр=[τ]кр расчетный момент приобретет значение допустимого.
Таким образом,
![]()
Формулу для определения допустимого момента из условия прочности болтов на срез (2.6) получим с учетом его преобразованной формы (2.24), а из условия прочности на смятие (2.7) – с учетом (2.25):
![]()
![]()
Заключительной операцией определения допустимого момента для серийной фланцевой муфты с установкой болтов без зазора будет сравнение полученных значений и определение минимального из них:
![]()
Минимальные значения [Tном] вычисляются для каждого типоразмера серийных муфт, именно их помещают в техническую характеристику обсуждаемого изделия, и его сравнивают с расчетным моментом, естественно, обеспечивая работоспособность менее слабых силовых элементов муфты.
Передача крутящего момента сопровождается формированием окружной (тангенциальной) силы Ft, которая в зависимости от конструктивных особенностей муфт приводит к различным деформациям упругих элементов, включая растяжение, сжатие, кручение, сдвиг, изгиб и разнообразные их комбинации. Для всех силовых звеньев рассматриваемых устройств неизменным первичным критерием работоспособности является прочность по соответствующим деформациям. Другим важнейшим критерием муфт упругих является жесткость, которая обеспечивает такие функциональные требования, как уровень дополнительных динамических нагрузок, исключение явления резонанса. Однако вопросы расчетов упругих муфт по критерию жесткости выходят за рамки настоящего пособия.
Силовая цепь муфты упругой втулочно-пальцевой – МУВП (рис. 2.2) включает полумуфты 1 и 4, пальцы 2, жестко связанные с полумуфтой 1 посредством конусных соединений, резиновые втулки 3, насаженные на пальцы. Пальцы с резиновыми втулками входят в соответствующие отверстия полумуфты 2.
Полумуфта 1 передает крутящий момент с вала на пальцы, при этом каждое ее сечение, перпендикулярное оси, нагружается нарастающим слева направо моментом за счет постепенной передачи его при помощи шпонки с вала на полумуфту, как это было показано на примере фланцевой муфты (см. эпюру Т на рис. 2.1, а). В аналогичных условиях работает и полумуфта 4. Очевидными критериями работоспособности полумуфт будет крутильная прочность ступицы (2.1) и прочность рабочих поверхностей шпоночного паза (2.3), из которых получают проектные зависимости для определения размеров ступицы (2.22), (2.23). Диаметр окружности Dc, на которой размещаются пальцы, устанавливается из конструктивных соображений, обеспечивающих размещение нужного количества гнезд полумуфты 4 под упругие втулки. Для стандартных МУВП принимается Dc=(4,5…2,2)d, при этом большие значения характерны для валов малого диаметра.
При передаче крутящего момента с полумуфты на пальцы движущий момент Tрд уравновешивается моментом сил Ft1c (рис. 2.2, б), которые нагружают пальцы и резиновые втулки. Значение Ft1c=Ft1 определяется из условия равновесия полумуфты (ΣM0=0) и по аналогии с фланцевой муфтой может быть определено в соответствии с (2.5) (более подробно см. подраздел 2.1.2).
Передача нагрузки Ft1 c пальца на резиновые втулки реализуется в виде определенным образом распределенной по длине площади контакта пальца с втулкой удельной нагрузки q. Закономерность распределения нагрузки зависит от большого количества факторов (соосности валов, точности изготовления пальцев, втулок, отверстий в полумуфтах и т.д.). Например, при строгой соосности соединяемых валов и высокой точности изготовления всех деталей муфты следует ожидать равномерное распределение удельной нагрузки q по длине пальца, а ее равнодействующую Ft1 можно приложить посредине площадки контакта (рис. 2.2, в, слева). При угловом смещении валов возможный вариант распределения q показан на рис. 2.2, в (справа).
В этом случае равнодействующую следует приложить, как известно, на расстоянии 2lвт/3. Смещение Ft1 к концу пальца усложняет условия работы пальцев и втулок. При формировании расчетной модели посадку пальца на конус в полумуфте считают жесткой заделкой, а сам палец условно относят к жестко защемленной балке. Силу Ft1 обычно прикладывают на конце балки (рис. 2.2, г), что идет в запас прочности пальца по сравнению с фактическим возможным местом ее приложения. Закономерность изменения изгибающего момента по длине пальца показана на том же рисунке. Эпюра изгибающего момента Mи и конструкция пальца однозначно указывают на положение его опасного сечения в месте защемления.
Очевидным критерием работоспособности пальца будет изгибная прочность. Математическая модель критерия имеет вид
![]()
где Mи ос=Ft1∙lП – изгибающий момент в опасном сечении, то есть в месте заделки; Woc – осевой момент сопротивления опасного сечения пальца в
месте заделки, для круглого сечения Wос=0,1
.
Для проектирования пальцев муфты условие их работоспособности при σиз=[σ]из можно преобразовать в проектную формулу
![]()

Рис. 2.2. Расчетная
модель силового и прочностного анализа МУВП:
а –
конструкция муфты; б, в – варианты нагружения
пальца;
г – вариант эпюры изгибающих
моментов Ми пальца; д –эпюры
напряжений ![]()
Как всегда при проектных расчетах, предварительно следует задаться неизвестными: числом пальцев, их длиной, диаметром, на котором они расположены, и методом последовательных приближений установить удовлетворяющие проектировщика результаты (подробнее см. подраздел 2.1.3).
Основным критерием работоспособности резиновых втулок является их прочность на смятие силой Ft1 в месте контакта втулок с пальцами (напряжения смятия в месте контакта втулок с полумуфтой менее опасны по причине большей площади контакта). В расчетной модели втулки обычно принимают равномерное распределение σсм по длине контакта втулки с пальцем. В поперечном сечении максимальные напряжения смятия будут иметь место в плоскости действия Ft1 (рис. 2.2,д). Однако, как было сформулировано в 2.1.2, принимают напряжения смятия по поперечному сечению равномерно-распределенными, условно снижая фактическую площадь смятия до ее проекции на диаметральную плоскость. Величина средних значений напряжений смятия при этом весьма близка реальным напряжениям σmax. Таким образом, критерий прочности втулок по напряжениям смятия может быть записан в виде (2.7), который для рассматриваемой муфты запишем так:
![]()
Допускаемые напряжения смятия σсм для резиновых втулок обычно принимают (1…2) мПа.
Для проектных расчетов условие (4.35) при оптимальном соотношении σсм = [σ]см можно решать относительно требуемой длины втулки
![]()
На заключительном этапе из всех силовых элементов проектируемой муфты устанавливают ее наиболее слабые звенья. Например, для типовых конструкций МУВП слабыми элементами являются пальцы и резиновые втулки. При отсутствии опыта в определении слабых звеньев целесообразно просчитать все силовые элементы муфты по наиболее вероятным критериям работоспособности. Уровень определяющего параметра, регламентируемого тем или иным критерием работоспособности (например, уровень рабочих напряжений в критерии прочности или деформаций – в критерии жесткости) дает возможность, с одной стороны, выявить слабый элемент, а с другой – выяснить малонагруженные элементы муфты и установить пути их совершенствования.
Проектные формулы (2.34) и (2.36) по аналогии с расчетом фланцевой муфты могут быть преобразованы в зависимости для определения номинальных допустимых моментов [Tном]и и [Тном]см, минимальное значение из которых помещают в технические характеристики серийных муфт (см. подраздел 2.1.4).
Неизменным силовым элементом оболочковых муфт (рис. 1.15), помимо полумуфт, являются разнообразные по конструкции оболочки (выпуклые, вогнутые, составные и т.п.) и болтовые фланцевые соединения. Болтовые соединения предназначены для передачи расчетного крутящего момента с полумуфт на оболочку и наоборот. При этом сила затяжки болтов Fзат обеспечивает создание силы трения Ffr на поверхностях контакта упругого элемента с полумуфтой, которая на соответствующем радиусе трения Rfr образует момент трения Tfr (рис. 2.3, разрез Б-Б). Расчетные модели и математические зависимости для определения Tfr, Rfr, Fзат рассмотрены на примере фланцевой муфты (см. подраздел 2.1.2). Здесь обратим внимание на расчетное значение количества поверхностей трения Zfr. Формально борт оболочки в данной конструкции зажат с двух сторон, однако в расчете принимают Zfr=1, так как зажимные диски не имеют жесткой связи с полумуфтами.
Очевидно, что упругая оболочка подвержена кручению, крутильному сдвигу и сжатию её бортов (рис. 2.3). С позиций кручения можно подвергнуть проверке прочности любые сечения, находящиеся справа и слева вблизи поперечного сечения А-А, в пределах которых толщина оболочки и радиус их расположения от оси вращения практически остаются неизменными. На более удаленных от А-А сечениях толщина оболочки увеличивается за счет перехода к борту, опасность её разрушения снижается. По этой причине прочность оболочки по кручению обычно проверяется по сечению А-А. Математическая модель этого условия (4.1) в оптимуме может быть записана в проверочной форме так:
![]()

Рис. 2.3. Расчетная
модель силового и прочностного анализа муфты оболочковой
При преобразовании в проектную зависимость уравнения (2.37) оно решается относительно одного из неизвестных геометрических параметров, к примеру наружного диаметра оболочки
![]()
Естественно, как во всякой проектной зависимости для её решения придется предварительно задаться имеющими место неизвестными, в данном случае – внутренним диаметром оболочки Dо.в Формулой (2.38) удобно воспользоваться, если, к примеру, в оболочку встраивается дополнительный механизм с заданным внешним диаметральным габаритом D. Тогда с учетом необходимого зазора ∆ задают Dо.в≅D+∆. Если же требуется разместить муфту в ограниченном пространстве, то первоначально целесообразно задаться внешним диаметром оболочки, из уравнения (2.37) установить внутренний диаметр Dо.в:
![]()
Условие прочности по крутильному сдвигу по площади поверхности цилиндра радиуса Rн, обозначенного на рис. 2.3 волнистой линией:
![]()
Тангенциальная сила Ftсд=2Tp/Dн, вызывающая сдвиг оболочки по цилиндрической поверхности в месте защемления борта оболочки между фланцами (Aсд=π∙Dн∙δ), показана на рис. 2.3 как движущая сила (по этой причине она направлена в соответствии с движущим моментом Tрд). Если при проверке оболочки с размерами, ранее определенными из (2.38) или (2.39), условие крутильного сдвига не обеспечивается (τсд>[τ]сд), то (2.40) можно привести к проектной форме с определением требующегося диаметра Dн сд:
![]()
Очевидно, что в подобном случае полученные значения Dн.сд>Dн, следовательно, в рассматриваемой ситуации более важным критерием работоспособности является не прочность оболочки по кручению, а её прочность по крутильному сдвигу.
Из расчетной схемы (рис. 2.3) видно, что борта оболочки сжимаются силой
затяжки Fзат. Часто в подобных случаях исключение
разрушения детали достигается ограничением напряжений на границе контакта
сжимаемых поверхностей
.
Рабочие напряжения смятия на поверхности кольцевой площадки, обозначенной на
расчетной модели, полагают распределенными равномерно (см. эпюры σсм).
Тогда условие работоспособности по напряжениям смятия примет вид
![]()
В силовую цепь рассматриваемой муфты входят полумуфта 1, втулка подшипника скольжения 2, опорный стакан пружин 6, регулировочная гайка 7, кулачковая подвижная в осевом направлении втулка 4, неподвижная кулачковая полумуфта 6 и пружины 5 (рис. 2.4) Силовой анализ лучше начать с рассмотрения сил в зацеплении кулачков (рис.2.5). Формируя расчетную модель этого этапа, примем равномерное распределение удельных давлений (напряжений смятия) по поверхности контакта кулачков при передаче крутящего момента. Обычно без особой погрешности заменяют удельные давления на контактирующих поверхностях равнодействующей Fn, приложенной на среднем диаметре кулачков Dc≈(Dн + Dвн)/2. Более полный подход к определению места приложения равнодействующей изложен в анализе фланцевой муфты. При передаче движущего момента Tрд с ведущего элемента на ведомый равновесие первого поддерживает тангенциальная сила сопротивления Ft1c, а на кулачок ведомого будет действовать движущая сила Ft1д = Ft1c = Ft1 (рис. 2.5 а). Значение Ft1, как отмечено выше, определяется из условия равновесия элементов муфты (2.5). Наклон силы Ft1 к рабочей поверхности кулачка под углом α обусловливает наличие нормальной к ней силы взаимодействия
![]()
и осевой (направленной параллельно оси) составляющей
. Поскольку при работе муфты наблюдается относительное перемещение
кулачков, то необходимо также учитывать силу трения Ffr,
которая противодействует выталкиванию кулачков, снижая силу
. Силу трения на наклонных поверхностях учитывают с помощью угла
трения φ, вычитая или прибавляя его к углу наклона в зависимости от
направления Ffr. В
данном случае
![]()

Рис. 2.4. Осевой разрез
муфты и ее силовые элементы
Осевые силы, действующие на отдельные кулачки при суммировании, характеризуют требуемую осевую силу нажимного механизма. Однако при определении расчетного значения осевой силы необходимо учесть, что выходу кулачков из зацепления будет препятствовать не только нажимное устройство, но и сила трения подвижной кулачковой втулки о шлицы полумуфты Ffrш, которую на основе расчетной схемы (рис. 2.5, б) можно вычислить как
![]()
где fШ – коэффициент трения в шлицах (fШ≈ 0,15).
Таким образом, окончательное значение суммарной на Zк кулачках требуемой осевой силы нажимного механизма (пружин в рассматриваемой конструкции):
![]()

Рис. 2.5.
Расчетные модели силового и прочностного анализа
кулачковой предохранительной
муфты: а – кулачкового зацепления;
б – требуемой осевой силы пружин
(нажимного механизма); в – изгибной прочности кулачков
Силовой анализ кулачкового зацепления позволяет ответить на вопрос о нагрузке всех перечисленных выше силовых элементов и прогнозировать их отказы и критерии работоспособности.
Кулачки. Рабочие поверхности кулачков нагружены нормальной силой Fn, реализуемой напряжениями смятия, условие их работоспособности в соответствии с (2.3) запишется так:
![]()
где площадь смятия принята
.
Допускаемые напряжения смятия [σ]см
принимаются из условия
предотвращения износа кулачков. С этой же целью материал для кулачковых венцов
назначают таким, чтобы при соответствующей химико-термической обработке
обеспечивали твердость поверхности не ниже 40 HRc.
Зависимость (2.47) описанными выше методами приводится к проектным формулам решением ее относительно одного из перечисленных параметров Zk; Dc; b; h. К примеру, относительно среднего диаметра кулачков
![]()
При этом всеми неизвестными параметрами предварительно нужно задаться. Делают эту операцию на основе изучения опыта проектирования кулачковых муфт (общие замечания по этому поводу см. подраздел 2.1.3).
Тело кулачка подвергается изгибу силой Ft1. Расчетная модель строится на принятии кулачка условно в виде жестко защемленной балки с нагрузкой, приложенной к вершине кулачка (см. рис. 2.5, в). Уравнение прочности по изгибным напряжениям (2.33) применительно к обсуждаемой муфте примет вид
![]()
Осевой момент инерции опасного сечения у основания кулачка принят условно как для прямоугольника с размерами b и S, которые обозначены пунктиром на рис. 2.5, в. Проверочная зависимость (2.33) также может быть преобразована в проектную, если изгибное разрушение кулачка становится наиболее опасным отказом. Последнее случается крайне редко, поэтому расчет на изгиб кулачка обычно не производится.
Полумуфта 1. Тело полумуфты передает крутящий момент Тр с вала на подвижную кулачковую втулку или наоборот и работает на кручение. Математические модели проверочных и проектных расчетов в подобных случаях рассмотрены выше применительно к фланцевым муфтам (см. подразделы 2.1.2 и 2.1.1). В качестве расчетного сечения следует принять минимальное ее сечение 1-1 по канавке для выхода фрезы при нарезании шлиц (см. рис. 2.4). Там же изложен и расчет шпоночного паза. Силовым элементом полумуфты также является шлицевое соединение с подвижной кулачковой втулкой. Расчет шлицевых соединений основан на обеспечении прочности по напряжениям смятия и износостойкости рабочих поверхностей.
Применительно к шлицам подвижной втулки более значимым является критерий износостойкости. По принятой универсальной методике расчет для обоих критериев проводится по напряжениям смятия. Математическая модель критерия (4.7) в данном случае приобретает вид
![]()
где Ft1ш – тангенциальная сила, нагружающая один из Zш шлиц; dm – средний диаметр шлицевого соединения; h – высота шлица; lp – рабочая (совместная) длина шлица.
Допустимые напряжения смятия [σ]см для подвижных шлицевых соединений, в которых перемещение происходит под нагрузкой, принимают в диапазоне (5…15) МПа. При этом материалы деталей соединения должны обеспечивать твердость рабочих поверхностей не ниже 40 HRc.
Отмеченные геометрические параметры шлиц первоначально назначаются в соответствии с принятым стандартом на них по наружному диаметру участка полумуфты под шлицы. Затем по (2.50) подвергаются проверочному расчету. Если размеры шлиц не обеспечивают соблюдение этого критерия, то есть шлицы являются слабым элементом в звене «полумуфта – подвижная кулачковая втулка», то в распоряжении конструктора можно выделить три переменные проектирования: увеличение длины lp, диаметра dm и изменение типа шлиц. В первых двух случаях (2.50) решают соответственно относительно требуемых значений lp или dm.
Кроме названных силовых элементов полумуфты, следует также назвать резьбу, нагруженную через гайку силой пружин Fпр. Под действием этой силы тело полумуфты растягивается, а витки резьбы срезаются и сминаются (в силовых резьбах более опасными считаются напряжения среза). По установившейся методике расчетов резьбовых соединений проверяют прочность растягиваемых элементов (в нашем случае прочность тела полумуфты), а работоспособность резьбы обеспечивается автоматически в силу принципа равнопрочности, заложенного в конструкцию стандартных гаек.
Втулка подшипника скольжения. Нагрузка на подшипник определяется степенью равномерности распределения окружных (тангенциальных) сил Ft1 между кулачками. При абсолютном равенстве Ft1 на всех кулачках сила, нагружающая вал и подшипники, отсутствует. При реальной точности изготовления деталей муфты равнодействующая приведенных к валу сил не равна нулю. Обычно принимают радиальную нагрузку на валы (подшипники):
Fв=(0,2…0,5)Ft1. (2.51)
Критерием работоспособности подшипников скольжения наиболее часто является износостойкость, условие которой в простейшем случае обеспечивается ограничением удельных давлений q≤[q]. Рассматриваемый подшипник работает лишь при срабатывании муфты. По этой причине он, как правило, не является слабым элементом и его расчет опущен.
Подвижная кулачковая втулка. Силовой и прочностной анализ кулачков проведены выше и в дополнительных комментариях не нуждаются. Тело втулки передает расчетный крутящий момент с кулачков на шлицы либо наоборот. Расчет втулки на крутильную прочность аналогичен расчету полумуфт. В качестве проверочных и проектировочных зависимостей, используя метод аналогии, можно применять (2.1), (2.21), (2.22).
Другим силовым элементом кулачковой втулки являются шлицы, которые передают крутящий момент Тр с полумуфты на рассматриваемую деталь или наоборот. Прочностной анализ шлиц выполнен выше применительно к полумуфте.
Кулачковый венец втулки также подвержен сжатию осевой составляющей силы взаимодействия кулачков FaΣ=Fa1∙Zk и уравновешивающей ее силой пружин Fпр. Уровень напряжений сжатия в венце низок и на работоспособность втулки практического влияния не оказывает. По этой причине расчет втулки по напряжениям σсж не производится.
Опорный стакан пружин. Регулировочная гайка. Эти детали находятся под действием силы Fпр. Напряжения сжатия в опорном стакане, как и в предыдущем случае, невелики и на его работоспособность не влияют. Размеры стакана назначаются из конструктивных соображений: наружный диаметр стакана и размеры шлиц принимают в соответствии с размерами кулачковой втулки, отверстий под пружины – по наружному диаметру пружин. В качестве регулировочной используют гайку круглую шлицевую по ГОСТ 8530 – 90. Как отмечено, при анализе полумуфт прочность резьбы обеспечивается в соответствии с принципом равнопрочности, заложенным при конструировании стандартных резьбовых деталей.
Пружины. Используемые в кулачковой муфте пружины сжатия
нагружены силой Fпр1=Fпр/Zпр, где Zпр
– количество установленных пружин. Под действием этой силы каждый из витков
нагружается крутящим моментом Тпр. Наличие
этого момента поясняет рис.2.6. Осевая сила Fпр1 относительно любого из сечений витков создает
момент, равный Fпр1∙D/2, который уравновешивается моментом
сопротивления скручиванию витка Tпр. Отсюда
Tпр=Fпр1∙D/2. (2.52)

Рис. 2.6. Силовой анализ пружины и ее геометрия
Основным критерием работоспособности пружин считают прочность по напряжениям кручения под действием момента Tпр. Математическая модель этого критерия (2.1) применительно к пружинам с круглым профилем проволоки записывается так:
![]()
Геометрические параметры пружины D и d (соответственно средний диаметр пружины и диаметр ее проволоки) обозначены на рис. 2.6. Коэффициент Кв, дополнительно введенный в (2.53), учитывает кривизну витков пружины и назначается по таблицам в зависимости от индекса пружины С. Индекс пружины определяется соотношением C=D/d. Для оптимального соотношения τкр=[τ]кр (2.1) может быть преобразовано в проектную зависимость. Если решить уравнение относительно диаметра проволоки, то
![]()
Как всегда при проектных расчетах предварительно необходимо задаться неизвестными: Kв и С. Поскольку Kв=f(С), то решение задачи следует начать с назначения индекса пружины. Инженерной практикой выработан диапазон широко используемых значений С=4…12. Указанный диапазон С зависит от вычисляемого диаметра проволоки. Поэтому решается задача в итерационном режиме. Первоначально задаются значением С в зависимости от ожидаемого диаметра проволоки. Если полученный диаметр d не соответствует ориентировочно принятому, то расчет повторяют с корректировкой С. Для назначения С и Kв можно воспользоваться таблицей 2.1.
Таблица 2.1. К назначению индекса пружины и коэффициента Kв
|
|
Ожидаемый диаметр проволоки d |
|||||
|
d ≤ |
||||||
|
С |
4 |
5 |
6 |
8 |
10 |
12 |
|
Kв |
1,37 |
1,29 |
1,24 |
1,17 |
1,14 |
1,11 |
При назначении индекса пружин следует руководствоваться следующими соображениями. Увеличение С в случае сохранения числа витков пружины приводит к увеличению диаметральных габаритов пружин и увеличению их податливости. Увеличение размера пружин и в конечном итоге муфты, естественно, противоречит задаче получения минимальных размеров и материалоемкости обсуждаемого устройства. Однако при этом улучшаются такие эксплуатационные показатели работы муфты, как снижение перегрузки при срабатывании кулачкового механизма, повышение точности срабатывания. Упругие характеристики двух различных по жесткости пружин приведены на рис. 2.7 .

Рис. 2.7.
Сравнительные характеристики пружин различной жесткости
Сравнение упругих характеристик податливой 1 и жесткой 2
пружин показывает, что для получения необходимой силы прижатия кулачков Fпр жесткую пружину необходимо деформировать на
меньшую величину λ2<λ1. При
срабатывании муфты кулачки перемещаются в осевом направлении и дополнительно
деформируют пружины на величину Δλ, равную высоте кулачков h. В силу разной жесткости
пружин на равную величину их дополнительной деформации они откликаются разными
значениями прироста силы, причем ΔF1 < ΔF2 (прирост сил в
сравниваемых пружинах). Следовательно, и силы срабатывания F1пр max < F2пр max и крутящие
моменты T1max < T2max
(рис. 2.7). Таким образом, использование
податливых пружин снижает перегрузку элементов приводов, а также повышает
точность срабатывания.
Таблица 2.2. Стандарты на муфты
|
Стандарт |
Наименование |
|
Гост 21424-75 |
Муфты упругие втулочно-пальцевые. Основные параметры. Габаритные и присоединительные размеры |
|
ГОСТ 20761-80 |
Муфты пальцевые. Основные параметры. Габаритные и присоединительные размеры |
|
ГОСТ 20884-82 |
Муфты упругие с торообразной оболочкой. Основные параметры. Габаритные и присоединительные размеры |
|
ГОСТ 14084-93 |
Муфты упругие со звездочкой. Конструкция. Основные параметры и размеры |
|
ГОСТ 5006-83 |
Муфты зубчатые |
|
ГОСТ 20742-81 |
Муфты цепные |
|
ГОСТ 5147-80 |
Муфты шарнирные. Основные параметры. Конструкция и размеры |
|
ГОСТ 24246-80 |
Муфты втулочные |
|
ГОСТ 20720-81 |
Муфты кулачково-дисковые |
|
ГОСТ 15620-77 |
Муфты предохранительные кулачковые |
|
ГОСТ 15621-77 |
Муфты предохранительные шариковые |
|
ГОСТ 15622-77 |
Муфты предохранительные фрикционные |
|
МН 3-61 |
Муфты обгонные (свободного хода) |
|
МН 5664-65 |
Муфты многодисковые фрикционные |
|
МН 5871-66 |
Муфты продольно-разъемные |
|
ТУ 24-8-563-70 |
Гидромуфты |
Таблица 2.3. Условные обозначения муфт по ГОСТ 2.770-68
|
|
Муфта без уточнения типа |
|
|
Муфта упругая нерасцепляемая |
|
|
Муфта жесткая зубчатая |
|
|
Муфта шарнирная |
|
|
Муфта кулачковая (односторонняя) |
|
|
Муфта сцепная фрикционная |
|
|
Муфта конусная односторонняя |
|
|
Муфта конусная двусторонняя |
|
|
Муфта фрикционная дисковая |
Пример 1.
Фланцевая муфта установлена в приводе металлорежущего ставка и
соединяет концы двух валов диаметром d=80 мм каждый. Фланцы полумуфт стянуты шестью болтами М16, три
из которых поставлены без зазора в отверстия из-под развертки (диаметр стержня
болта d4 =
Проверить на срез болты, поставленные без зазора, в предположении, что
весь вращающий момент T=
2500 Н∙м
передают только эти болты. Диаметр окружности, на которой расположены оси
болтов, D1 =
Решение.
1. Допускаемое напряжение на срез стержня болта
Τср=0,25σT=0,25∙300=75 Нмм2,
2. Коэффициент режима работы муфты K = 1,75.
3. Окружная сила, передаваемая одним болтом (при z = 3),
![]()
4. Расчетное напряжение среза в болте
![]()
Условие прочности выполнено: τср = 58,4 Н/мм2 < [τ]ср = 75 Н/мм2.
Пример 2.
В приводе станка установлена масляная многодисковая фрикционная муфта для передачи мощности Р= 3,1кВт при угловой скорости ω=60 рад/с. Муфта работает при переменной нагрузке.
Материал дисков – сталь 65Г с закалкой до твердости ≥60 HRC3. Число ведущих дисков z1=9, ведомых z2=10. Диаметры дисков D1=110 мм и D2=82 мм. Определить необходимую силу сжатия дисков для включения муфты и проверить диски на износостойкость.
Решение.
Коэффициент режима работы муфты при переменной нагрузке принимаем К=1,7.
Расчетный вращающий момент, передаваемый муфтой:
![]()
Расчетные коэффициенты: f=0,12; k=1,4.
Средний радиус поверхности трения дисков
![]()
Число пар трущихся поверхностей дисков
z=(z1+z2)-1=(9+10)-1=18.
Сила сжатия дисков при включении муфты
![]()
Окружная скорость на среднем радиусе поверхности трения дисков
![]()
Допускаемое давление [pm]=0,4 Н/мм2
Расчетное давление на трущихся поверхностях дисков
![]()
Что удовлетворяет условию износостойкости.
- Каково назначение и по каким признакам разделяют муфты приводов?
- Чем обусловлена необходимость применения компенсирующих муфт?
- Как в общем случае подбирают муфты?
- Почему глухие муфты требуют строгой соосности валов?
- Как устроена зубчатая муфта? Для чего применяют смазку и почему изнашиваются зубья?
- Что представляют из себя шарнирная муфта и карданный вал?
- Почему муфты называют упругими? Каковы их основные характеристики?
- Каково устройство муфты со звездочкой и втулочно-пальцевой?
- Каковы разновидности муфт с торообразной оболочкой?
- Что дает конусная поверхность в муфте с резиновой конусной шайбой?
- В чем разница между кулачковой и зубчатой сцепными муфтами?
- Какое преимущество сцепной муфте дает применение синхронизатора?
- Почему среди фрикционных муфт наибольшее распространение получили многодисковые?
- Каким образом настраивают предохранительные муфты на срабатывание при определенном вращающем моменте?
- На что рассчитывают штифт в предохранительной муфте?
- С какой целью применяют центробежные муфты?
- Как устроена обгонная муфта? Почему муфта передает вращение только в одном направлении?
- Для чего используют муфты?
- Каково назначение муфт приводов? Какие различают муфты по управляемости?
- Какие элементы привода могут соединять муфты?
- На какие группы и по каким признакам классифицируют муфты?
- По каким признакам классифицируют механические муфты, применяемые в машиностроении?
- Как подбирают муфты по ГОСТам?
- Глухие муфты. Область применения.
- Компенсирующие муфты. Область применения.
- Почему из муфт сцепления наиболее распространены фрикционные муфты?
- В каких случаях применяют многодисковые фрикционные муфты?
- Как устроены и как работают предохранительные муфты со срезным штифтом?
- Достоинства и недостатки глухих муфт, примеры конструкций?
- Виды несоосности валов? Какие муфты компенсируют их вредное влияние?
- Какие функции выполняют упругие муфты?
- Чем характеризуются динамические свойства упругих муфт?
- Какие упругие муфты наиболее распространены?
- Какие функции выполняют сцепные муфты? Их разновидности?
- Самоуправляемые муфты? Их классификация по назначению?
- Для чего используются глухие муфты? Приведите пример.
- Как компенсирует несоосность валов зубчатая муфта?
- Каковы достоинства и недостатки упругих компенсирующих муфт по сравнению с зубчатыми?
- Каковы преимущества и недостатки металлических упругих элементов по сравнению с резиновыми?
- Каковы достоинства и недостатки сцепных муфт, основанных на зацеплении по сравнению с фрикционными?
- Каковы достоинства и недостатки различных типов фрикционных муфт?
- На каком принципе основаны обгонные муфты?
- Какие типы центробежных муфт существуют и где они применяются?
- Каковы преимущества и недостатки различных типов предохранительных муфт?
- Каким образом настраивают предохранительные кулачковые и фрикционные муфты на срабатывание при определенном вращающем моменте?
- Каков физический смысл коэффициента режима работы муфты?
- Как устроена фланцевая муфта? Где ее применяют? Почему для соединения валов фланцевой муфтой требуется их строгая соосность?
- Как устроена зубчатая муфта? Какие смещения валов и за счет чего она компенсирует? Почему изнашиваются зубья?
- Каковы достоинства упругих компенсирующих муфт? Почему упругие муфты снижают динамические нагрузки в приводе? В каких случаях целесообразно применять резиновые, а в каких — металлические упругие элементы?
- Какую из сцепных муфт следует применить для соединения вращающегося с большой частотой вала с неподвижным валом?
- Как устроены и работают обгонные муфты? В каком направлении должна вращаться обойма, чтобы произошло заклинивание ролика (см. рис.1.29)?
- С какой целью в приводах применяют центробежные пусковые муфты?
- Передают ли жесткие и упругие муфты вибрации, толчки и удары?
- За счет чего можно увеличить расчетный момент многодисковой фрикционной муфты, не изменяя ее диаметра?
- Что является основной характеристикой муфт?
- На рис.4 покажите центрующее кольцо.
Каково назначение этой детали?
- За счет чего происходит
компенсация осевого, радиального и углового смещений в зубчатой муфте?
- Дайте характеристику муфте,
изображенной на рисунке.

-
Кратко опишите назначение и принцип работы кулачковой муфты.
- Найдите рабочие поверхности
фрикционных муфт, показанных на рис.1.28.
- Опишите работу муфты свободного хода при остановке полумуфты 1 (рис.1.29).
-
Поясните необходимость установки грузов-колодок 3 (см. рис. 1.30) в обеих полумуфтах?
- Опишите устройство предохранительной муфты с разрушающимся элементом. Назовите
недостаток этой муфты.
- Для чего существуют муфты?
- Каковы главные признаки классификации муфт?
- Какая характеристика муфты считается главной?
- Каковы принципы конструкции и работы жёстких муфт?
- Каковы принципы конструкции и работы шарнирных муфт?
- Каковы принципы конструкции и работы упругих муфт?
- Как устроена и как работает упруго втулочно-пальцевая муфта (МУВП)?
- За счёт каких сил работают фрикционные муфты?
- Какие критерии прочности применяют для фрикционных муфт?
- Назовите материалы (без
уточнения марки) для изготовления кулачково-дисковых муфт
1) Чугун
2) Сталь
3) Бронза
- Изменяют ли с помощью
муфты угловую скорость одного вала относительно другого?
1) Изменяют
2) Нет
- Перечислите
компенсирующие муфты
1) Фланцевые
2) Продольно-свертные
3) Зубчатые
4) Кулачковые
5) Фрикционные
- Какие муфты можно
включать на ходу при вращении ведущего вала с большой угловой скоростью?
1) Кулачковые
2) Фрикционные
- Каково назначение
самоуправляемых муфт?
1) Для соединения и разъединения валов на ходу
2) Для автоматического соединения и разъединения валов при заданной угловой скорости
3) Для передачи вращающего момента в одном направлении
4) Для регулирования передаваемого вращающего момента
- Основными функциями муфт являются…
1) соединение концов валов и передача крутящего момента
2) компенсирование погрешностей расположения валов
3) уменьшение динамических нагрузок, предохранение от перегрузок
4) создание дополнительной опоры для длинных валов
- По назначению механические муфты подразделяют на…
1) постоянные, управляемые, самоуправляемые
2) фланцевые, цепные, центробежные
3) втулочные, кулачковые, обгонные
4) предохранительные, зубчатые, фрикционные
- По назначению постоянные муфты подразделяют на…
1) некомпенсирующие (глухие), жесткие компенсирующие, упругие компенсирующие
2) втулочные, поперечно-свертные, продольно-свертные
3) фрикционные, зубчатые, цепные
- Изображенная
муфта предназначена для…

1) соединения валов с радиальным смещением
2) соединения валов с осевым смещением
3) соединения валов с угловым смещением
4) соединения жестких валов без смещения
- Жесткие компенсирующие муфты служат для…
1) постоянного соединения строго соосных валов
2) автоматического разъединения валов при опасных перегрузках
3) соединения или разъединения валов при их вращении или в покое
4) компенсации неточности взаимного расположения соединяемых тихоходных валов
- Упругие компенсирующие муфты служат для…
1) постоянного соединения строго соосных валов
2) автоматического разъединения валов при опасных перегрузках
3) смягчения динамических нагрузок, компенсации неточности взаимного расположения соединяемых валов, демпфирования колебаний
4) соединения или разъединения валов при их вращении или в покое
- Стандартные и нормализованные муфты подбирают по…
1) номинальному моменту
2) расчетному моменту
3) номинальному моменту и частоте вращения вала
4) расчетному моменту и диаметрам концов валов
- Для соединения валов, оси которых расположены под углом друг к другу более 30, следует использовать… муфту
1) упругую втулочно-пальцевую
2) зубчатую компенсирующую
3) шарнирную
4) дисковую фрикционную
- Для соединения быстроходных валов, подвергающихся динамическим нагрузкам, следует применять… муфту
1) жесткую компенсирующую
2) упругую компенсирующую
3) сцепную управляемую
4) предохранительную
- К жестким (глухим) муфтам относится…
1) зубчатая
2) фрикционная
3) втулочная
4) втулочно-пальцевая
- К упругим компенсирующим муфтам относится…
1) зубчатая
2) фрикционная
3) втулочная
4) упругая втулочно-пальцевая
- Управляемые муфты предназначены для…
1) соединения или разъединения валов при их вращении или в покое
2) автоматического разъединения валов при опасных перегрузках
3) смягчения динамических нагрузок, компенсации неточности взаимного расположения соединяемых валов
4) передачи вращения только в одном направлении
- Управляемые муфты по конструкции разделяют на…
1) кулачковые, зубчатые, фрикционные
2) цепные, втулочные, кулачковые
3) фланцевые, предохранительные, центробежные
- Из управляемых муфт плавное соединение валов обеспечивают… муфты
1) кулачковые
2) зубчатые
3) фрикционные
- С увеличением количества дисков трения в фрикционных муфтах при прочих равных условиях передаваемый момент…
1) увеличивается
2) уменьшается
3) не изменяется
- Из управляемых муфт…могут предохранять механизмы от внезапных перегрузок
1) фрикционные
2) зубчатые
3) кулачковые с прямоугольным профилем
- Изображенная на рисунке муфта относится к…муфтам

1) фрикционными
2) зубчатым
3) кулачковым
- Изображенная на рисунке муфта относится к … муфтам

1) фрикционными
2) зубчатым
3) кулачковым
- Изображенная на рисунке муфта относится к … муфтам

1) фрикционными
2) зубчатым
3) кулачковым
- В кулачковой муфте расчет кулачков производят по напряжениям…
1) смятия и изгиба
2) смятия и растяжения
3) сжатия и изгиба
- Кулачковые и зубчатые управляемые муфты применяют при необходимости осуществления…
1) жесткой кинематической связи
2) плавного соединения и разъединения валов
3) соединения и разъединения особо быстроходных валов
- Наименьшей нагрузочной способностью при одинаковых габаритах обладают… муфты
1) кулачковые
2) зубчатые
3) фрикционные однодисковые
- Самоуправляемые муфты предназначены для …
1) автоматического соединения или разъединения валов при определенных условиях
2)соединения или разъединения валов при их вращении или в покое
3) смягчения динамических нагрузок, компенсации неточности взаимного расположения соединенных валов, демпфирования колебаний
- К самоуправляемым муфтам относятся …
1) предохранительная, обгонная, центробежная
2) поперечно-свертная (фланцевая), зубчатая, кулачковая
3) с разрушающимся элементом, втулочная, цепная
- Для автоматического включения механизма при определенной угловой скорости следует использовать … муфту
1) управляемую
2) центробежную
3) упругую компенсирующую
4) предохранительную
- Предохранительные муфты используют для …
1) включения исполнительного механизма
2) защиты машины от перегрузки
3) передачи вращения только в одном направлении
4) компенсации вредного влияния несоосности валов
- Муфта, обеспечивающая передачу момента в одном направлении и свободное относительное вращение в противоположном, называется …
1) обгонной
2) предохранительной
3) центробежной
- Муфты, используемые для автоматического соединения и разъединения валов при определенных частотах вращения, называют …
1) центробежными
2) предохранительными
3) обгонными
- Для повышения плавности пуска и разгона механизмов, имеющих значительные маховые моменты, применяют … муфты
1) центробежные
2) предохранительные
3) обгонные
- Изображенная муфта относится к … муфтам

1) центробежным
2) предохранительным
3) обгонным
4) упругим компенсирующим
- Изображенная муфта относится к … муфтам

1) центробежным
2) предохранительным
3) обгонным
4) упругим компенсирующим
- Изображенная муфта относится к … муфтам

1) центробежным
2) предохранительным
3) обгонным
4) упругим компенсирующим
- Деталь 1 представленной на рисунке муфты является …

1) срезным штифтом, разрушающимся при перегрузе
2) штифтом, являющимся центрирующим элементом
3) элементом, служащим для балансировки муфты
- По каким параметрам
производят подбор стандартных муфт
1) По режиму работы
2) dB
3) Tv
4) ωmax
5) [τ]ср
- По какому моменту
выбирают стандартные зубчатые муфты?
1) Tпред=Тр
2)
Т
3)
КрТ
4)
КбКрТ
- Какая фрикционная муфта
требует большей прижимной силы Fr?
1) Коническая
2) Однодисковая
3) Многодисковая
- Многодисковая
фрикционная муфта получила преимущественное применение, это объясняется в
первую очередь...
1) уменьшением силы нажатия
и увеличением передаваемого вращающего момента
2) устранением пробуксовки
при установившемся режиме работы
3) предохранением машин
от перегрузок обеспечением плавности сцепления
валов под нагрузкой на ходу
email: KarimovI@rambler.ru
Адрес: Россия, 450071, г.Уфа, почтовый ящик 21
Теоретическая механика Сопротивление материалов
Прикладная механика Строительная механика Теория машин и механизмов