Лабораторная
работа
Определение
момента трения в подшипниках качения
1. Цель работы
- Определение момента трения в подшипниках качения.
- Определение приведенного коэффициента трения в
подшипниках качения.
2. Теоретические
положения
Основным источником потерь в подшипниках качения
является сопротивление перекатыванию тел качения по беговым дорожкам колец,
зависящее от нагрузки на подшипник, его размеров, свойств материалов деталей
подшипников и т.п.
Кроме того, потери вызываются трением тел качения о
сепаратор, трением деталей подшипника о смазку, гидравлическим сопротивлением в
смазке и т.п.
Определение составляющих суммарных потерь
затруднительно. В настоящей работе определяется суммарный момент сил трения. Основная
составляющая потерь в подшипнике, зависящая от чистого качения, определяется по
уравнению
![]()
где fк –
коэффициент трения качения, мм; например, для шарика из закаленной стали,
перекатывающегося по стальной закаленной поверхности, fк = 0,01 мм;
Fr – радиальная нагрузка на подшипник, Н;
D0 – диаметр расположения центров тел качения, мм;
dш – диаметр шариков,
, мм;
d – посадочный диаметр внутреннего кольца подшипника,
мм.

Числовой коэффициент в формуле (1):
![]()
где Fir – радиальная
нагрузка, действующая на отдельный шарик.
Суммарный момент сил трения Mт1 в
подшипнике, учитывающий совокупность всех потерь, определяется по формуле
![]()
где fпр – условный
приведенный коэффициент трения при определении суммарного момента сил трения.
Очевидно, Mтк < Mт1,
поскольку в Mтк учитываются потери только на перекатывание. Mтк,
приведенный к посадочной поверхности внутреннего кольца, можно определить по
уравнению
![]()
Приравнивая
формулы (1) и (3), получим
![]()
Из
(2) получаем
![]()
где
Mт1 – суммарный момент сил
сопротивления вращению одного подшипника, полученный при измерении:
![]()
где Mт – суммарный момент трения в четырех подшипниках,
отсчитываемый по шкале 8 (см. рис. 1)
в Нм.
В настоящей работе изложена методика определения Mт1 для
радиальных однорядных шарикоподшипников, поэтому для опытов необходимо
использовать головки с подшипниками 208 и 308.
Необходимые для выполнения работы размеры этих
подшипников приведены в табл. 1 отчета.
3.
Основные правила по технике безопасности
- Включение установки производить
с разрешения преподавателя.
- Нагружение подшипников производить при неработающей
установке.
- Для предупреждения падения
испытательной головки при нагружении подшипников прижимать ее в осевом
направлении (от себя) до упора.
- После окончания работы установку отключить от сети.
- Трубку, соединяющую камеру подшипников со шприцем
для подачи масла, и термометр НЕ ТРОГАТЬ!
4.
Описание установки
Опытное определение момента трения МТ в подшипниках и
определение приведенного коэффициента трения fпр производится на установке ДМ 28, (рис.1).
Асинхронный электродвигатель
через клиноременную передачу 1 с трехступенчатыми шкивами осуществляет вращение вала и
четырех испытуемых подшипников, заключенных в головке 6. Частота вращения подшипников n =
970, 1880 и 2860 мин-1. Пуск электродвигателя производится с помощью
выключателя 10, смонтированного на корпусе установки.
Суммарный момент Мт
в четырех подшипниках отсчитывается по шкале 8, градуированной в Нм. На установке предусмотрено измерение Мт методом тензометрирования
с помощью пружины и наклеенного на нее проволочного датчика.

Рис.1. Установка ДМ28: 1 – клиноременная передача (закрыта кожухом); 2 – индикатор;
3 – винт нагружения подшипников; 4 – место установки термометра; 5 – шприц; 6 – головка испытательная;
7 – груз; 8 –
шкала; 9 – маятник; 10 – кнопки включения-выключения электродвигателя;
11 –
тумблер включения сети; 12 – скоба динамометрическая
На рис. 2 показана испытательная головка. Она состоит
из корпуса 6, в котором смонтированы
два крайних подшипника 14 и средние
подшипники 11, маятника 9, груза 7, шприца 5 и термометра 4 для измерения температуры масла.
Средние подшипники установлены в обойме 1.

Рис. 2. Испытательная головка: 1 – обойма наружная; 2 –
индикатор; 3 – винт нагружения подшипников;
4 – термометр; 5 –
шприц; 6 – корпус головки; 7 – груз; 8 –
подпружинные шарики; 9 – маятник; 10 – скоба;
11 – подшипники средние; 12 – вал приводной; 13 –
скоба динамометрическая; 14 – подшипники крайние
Внутренние кольца испытуемых подшипников посажены на
втулке, которая установлена на приводном валу 12 и фиксируется в осевом направлении подпружиненными шариками 8.
Нагружение исследуемых
подшипников производится винтом 3,
ввернутым в скобу 10. Величина
нагрузки устанавливается с помощью протарированной динамометрической скобы 13 и индикатора 12.
Положение груза 7 на маятнике регулируется с целью
ограничения отклонения маятника при измерении разных по величине моментов.
5. Методика проведения
испытаний и обработка результатов
1) Вычертить в отчете упрощенную
схему, показанную на рис.3. Дать краткое
описание испытательной головки.
2) Шприцем 5
(см. рис. 2) заполнить испытательную головку маслом до полного погружения в
масло нижнего тела качения.
3) Нагрузить подшипники
посредством винта 3 (см. рис. 2) усилием 12000 Н.
4) Включить установку и прогреть испытательную головку
до температуры 40…50 °С.
5) Выключить установку и снять нагрузку до нуля.

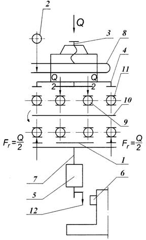
Рис.3. Упрощенная схема испытательной головки: 1 – обойма наружная; 2 – индикатор;
3 – винт нагружения подшипников; 4 – корпус головки; 5 –
груз; 6 – шкала; 7 – маятник;
8 – скоба динамометрическая; 9 – подшипники средние; 10
– вал приводной;
11 – подшипники крайние; 12 – стрелка – указатель
6) При нагрузке «нуль» включить установку, снять
показание со шкалы 8 (см. рис. 1) и
занести в табл. 2 отчета, затем последовательно нагружать силами 1000, 3000,
6000, 9000, 12000 Н и заносить значения момента трения в табл. 2.
Нагружение подшипников производить при выключенной установке.
7) По данным табл. 2 отчета построить график.
8) Снять нагрузку до нуля.
9) Шприцем 5 удалить смазку из подшипниковой камеры.
10) Выполнить действия, указанные в п. 6, данные
занести в табл. 3.
11) По данным табл. 3 отчета построить график
.
12) По формуле (5) определить приведенный коэффициент
трения fПР при разных уровнях масла и соответствующих им Mт1 и построить график зависимости этого коэффициента от
нагрузки
.
Кривые зависимости
. по пп. 8, 12 выполнить на одном поле графика. То же
сделать и для
..
6.
Содержание и оформление отчета
6.1 Титульный лист.
6.2 Цель работы.
6.3 Кинематическая схема установки.
Таблица 1. Основные параметры подшипники
|
Параметры
подшипника |
208 |
308 |
|
Диаметр
отверстия d,
мм |
40 |
40 |
|
Наружный
диаметр D, мм |
80 |
90 |
|
Диаметр по центрам тел качения D0, мм |
60 |
65 |
|
Диаметр
тела качения dш, мм |
12,7 |
15,08 |
Таблица 2. Значения Мт при полном погружении нижнего тела качения в масло
|
Нагрузка Q, Н |
0 |
1000 |
3000 |
6000 |
9000 |
12000 |
|
Число делений индикатора |
0 |
15 |
45 |
90 |
135 |
180 |
|
Суммарный момент четырех подшипников Мт |
|
|
|
|
|
|
|
Нагрузка на один подшипник
|
0 |
500 |
1500 |
3000 |
4500 |
6000 |
|
Момент трения для одного подшипника
|
|
|
|
|
|
|
|
Приведенный коэффициент трения
|
|
|
|
|
|
|
Таблица 3. Значения Мт при смазке, удаленной из подшипниковой камеры
|
Нагрузка Q, Н |
0 |
1000 |
3000 |
6000 |
9000 |
12000 |
|
Число делений индикатора |
0 |
15 |
45 |
90 |
135 |
180 |
|
Суммарный момент четырех подшипников Мт |
|
|
|
|
|
|
|
Нагрузка на один подшипник
|
0 |
500 |
1500 |
3000 |
4500 |
6000 |
|
Момент трения для одного подшипника
|
|
|
|
|
|
|
|
Приведенный коэффициент трения
|
|
|
|
|
|
|
График зависимости суммарного момента трения от
нагрузки для одного подшипника
(1 – при
полном погружении нижнего тела качения в масло, 2 – при удаленной
смазке)
|
MT1, Нмм Fr, Н |
График зависимости приведенного коэффициента трения fпр от нагрузки
(1 – при
полном погружении нижнего тела качения в масло, 2 – при удаленной
смазке)
|
fпр, Нмм Fr, Н |
7.
Вопросы для самоконтроля
1. От чего зависит сопротивление вращению подшипника?
2. Как изменится момент трения в подшипнике с
изменением нагрузки?
3. Как изменяется приведенный коэффициент трения в
подшипнике с изменением нагрузки?
4. Как изменяются моменты трения и приведенный
коэффициент трения от уровня заполнения подшипниковой камеры маслом?
5. По формуле (4) определить fкпр и сравнить его с fпр, полученными при испытании.
6. Выполнить эскизы основных типов подшипников и дать
им краткую характеристику (шариковый радиальный однорядный, шариковый
радиальный сферический двухрядный, роликовый радиальный с короткими
цилиндрическими роликами, роликовый сферический двухрядный, роликовый
радиальный игольчатый, шариковый радиально-упорный однорядный, шариковый
упорный однорядный, роликовый конический однорядный).
email: KarimovI@rambler.ru
Адрес: Россия, 450071, г.Уфа, почтовый ящик 21
Теоретическая механика Сопротивление материалов
Прикладная механика Строительная механика Теория машин и механизмов